高压缸结构

液压缸的结构和材料
图片尺寸1080x810
第五章 液压缸ppt
图片尺寸1080x810
2)高压缸结构图
图片尺寸640x481
气液增压缸的结构介绍
图片尺寸320x415
液压缸结构图样例(不完整)
图片尺寸1083x671
液压缸的典型结构
图片尺寸1080x810
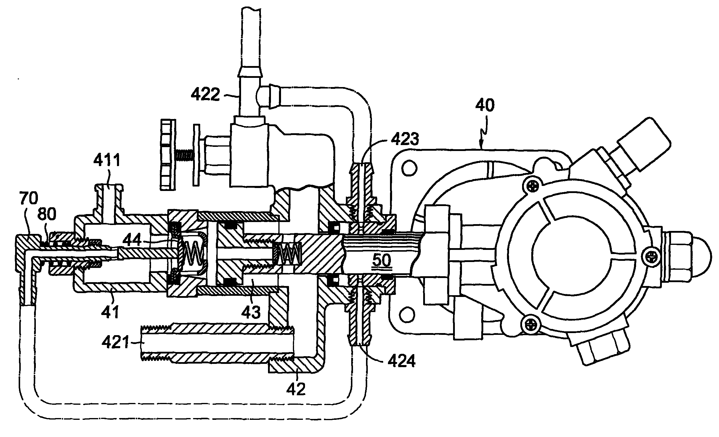
改进的高压喷雾机的活塞缸构造
图片尺寸2428x1476
32液压缸的结构-(精品·课件).ppt
图片尺寸1152x864
一种用于多射注塑机的高压油缸结构
图片尺寸1173x704
单活塞杆式液压缸结构图
图片尺寸500x250
ro系列高压油缸
图片尺寸710x497
7种液压缸工作原理和内部结构
图片尺寸555x373
液压缸结构图示
图片尺寸537x220
可提供全部给水回热抽汽的一次再热汽轮机高压缸制造技术
图片尺寸624x1000
气缸的基本构
图片尺寸640x384
一种高压大摆角圆弧叶片式摆动油缸结构的制作方法
图片尺寸993x1000
液压油缸原理结构图讲解
图片尺寸565x297
非标液压缸,轻型液压缸,hsg油缸,工程油缸,拉杆液压缸,高压油缸,重型
图片尺寸596x347
一种往复活塞式压缩机单作用高压注油气缸排油结构
图片尺寸1000x811
液压缸结构介绍
图片尺寸1080x1920