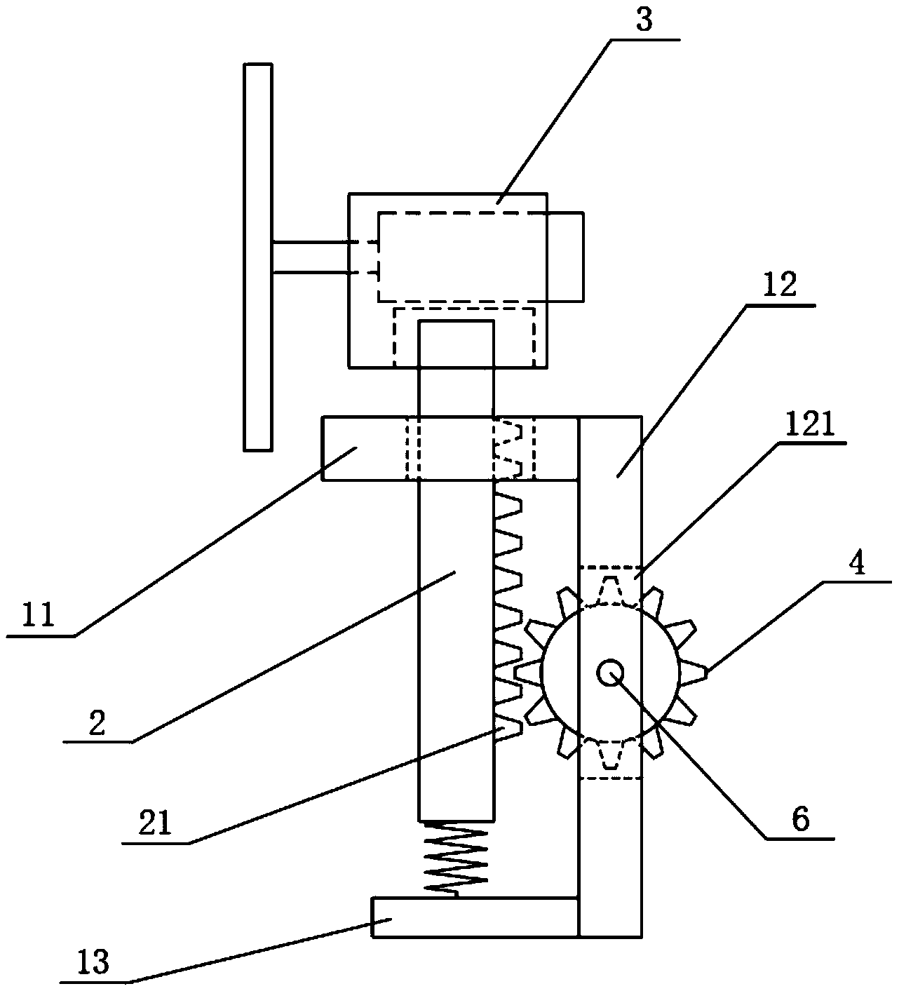
高度调节机构

激光高度调整机构手动调节高度机构
图片尺寸530x620
cn107117078b_手动座椅高度调节器机构
图片尺寸1509x1263
丝杆调节高度
图片尺寸384x592
一种多级可调皮带输送机设备的高度调节机构
图片尺寸1979x1505
一种用户图像智能识别设备用高度调节机构
图片尺寸1535x1953
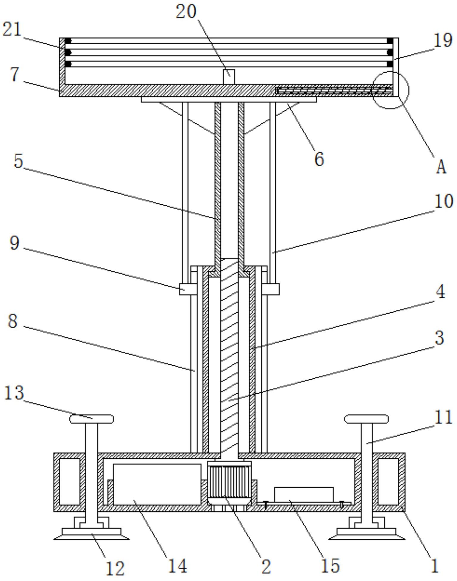
sw激光高度调整机构装配图文教程
图片尺寸990x558
坐垫高度角度调节机构
图片尺寸1000x1000
简易编码器高度调节机构
图片尺寸1282x1413
可调高支撑架 高度调节支撑架 可调高支撑机构
图片尺寸750x750
可调节高度角度机构
图片尺寸673x660
手动机械式高度调节装置
图片尺寸1101x2348
水平调节机构
图片尺寸795x697
螺杆驱动手动提升机构sw
图片尺寸507x571
手动三轴调节机构设计
图片尺寸609x600
高度调整机构建模图纸合集的封面图
图片尺寸285x267
高度可调夹紧机构
图片尺寸351x606
方向盘高度调整机构
图片尺寸530x602
一种桌椅高度调节机构的制作方法
图片尺寸1000x1000
电机调整机构
图片尺寸781x743
转动导杆调速机构
图片尺寸1088x1920