鱼缸潜水泵拆解

sobo松宝牌wp850f鱼缸潜水泵拆解
图片尺寸964x581
松宝多功能潜水泵鱼缸三合一静音过滤器水族箱养鱼增氧造浪循环
图片尺寸711x1021
正品老百姓304全不锈钢污水泵潜水泵wq(d)220v/380v丝口出水节
图片尺寸750x903
qdx小型不锈钢潜水泵的特点及应用
图片尺寸696x577
普通潜污泵-拆卸装配过程
图片尺寸640x427
潜水泵内部结构
图片尺寸1014x627
充水式潜水电泵
图片尺寸790x1206
西龙鱼缸原装泵 水族箱原装潜水泵西龙 三合一过滤泵
图片尺寸800x800
富兰克林进口潜水泵sr不锈钢高温温泉泵90度304不锈钢185kw
图片尺寸550x623
鱼缸抽水泵小型静音潜水泵循环过滤变频水泵水族箱抽水水循环
图片尺寸790x1294
新界wqd10-15-1.1s全不锈钢污水污物潜水泵耐腐蚀
图片尺寸720x552
闽江水族ns 6500潜水泵120w鱼缸鱼池抽水泵 水陆两.
图片尺寸790x1062
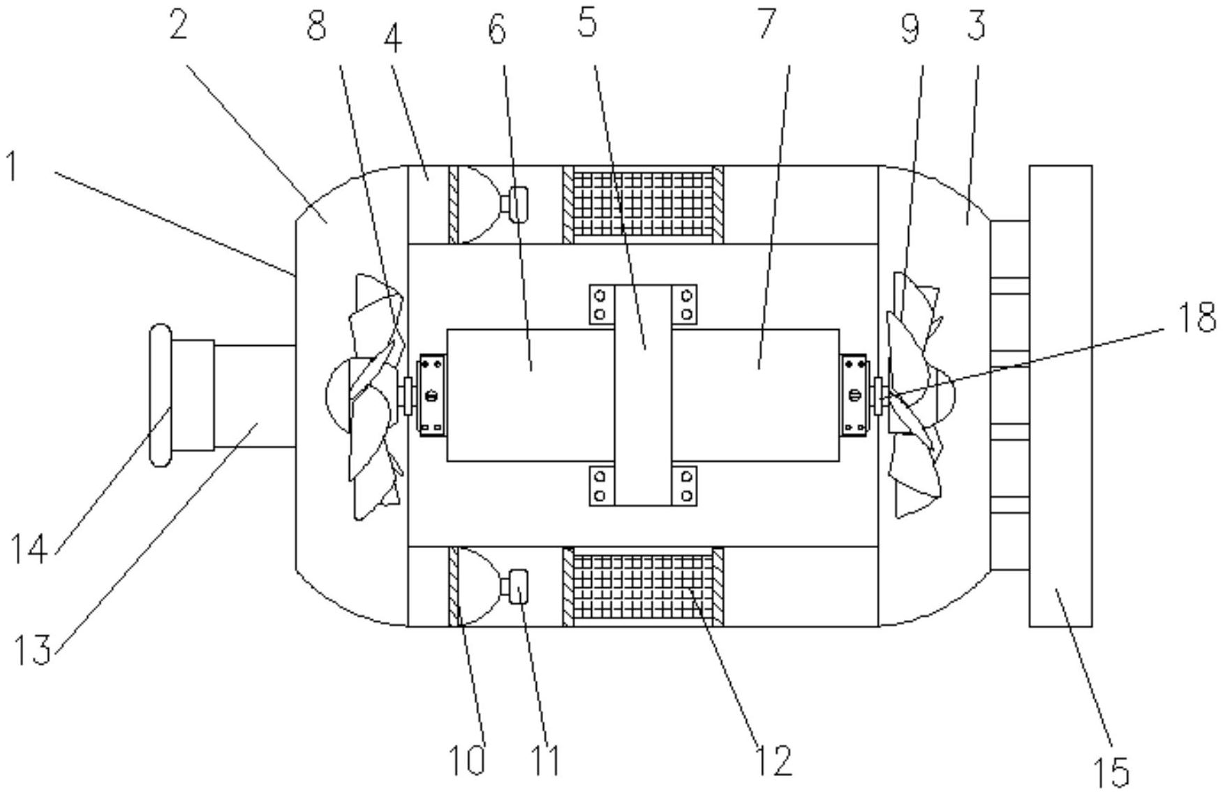
一种鱼缸潜水泵
图片尺寸1752x1140
上海威沪大流量高扬程小型便捷式潜水泵厂家qy油浸式潜水泵浇地泵
图片尺寸527x600
qyf大流量不锈钢潜水电泵/广东潜水泵厂家/东莞不锈钢潜水泵厂家直销
图片尺寸550x689
森森clb系列塑料水泵微型潜水泵/家用鱼缸小水泵水族箱抽水
图片尺寸611x800
055kw立式不锈钢离心潜水电泵
图片尺寸683x794
潜水泵厂家报价2022潜水泵型号参数大全十大品牌排行
图片尺寸693x552
井用潜水泵拆解流程
图片尺寸640x853
鱼缸潜水过滤泵 水族三合一过滤水泵 水族箱过滤二合一泵
图片尺寸800x800