鱼道设计图

貊皮岭水电站鱼道进口布置论证与优化
图片尺寸3996x1645
鱼道
图片尺寸487x499
《一种可调式鱼道系统》是水利部新疆维吾尔自治区水利水电勘测设
图片尺寸1219x2524
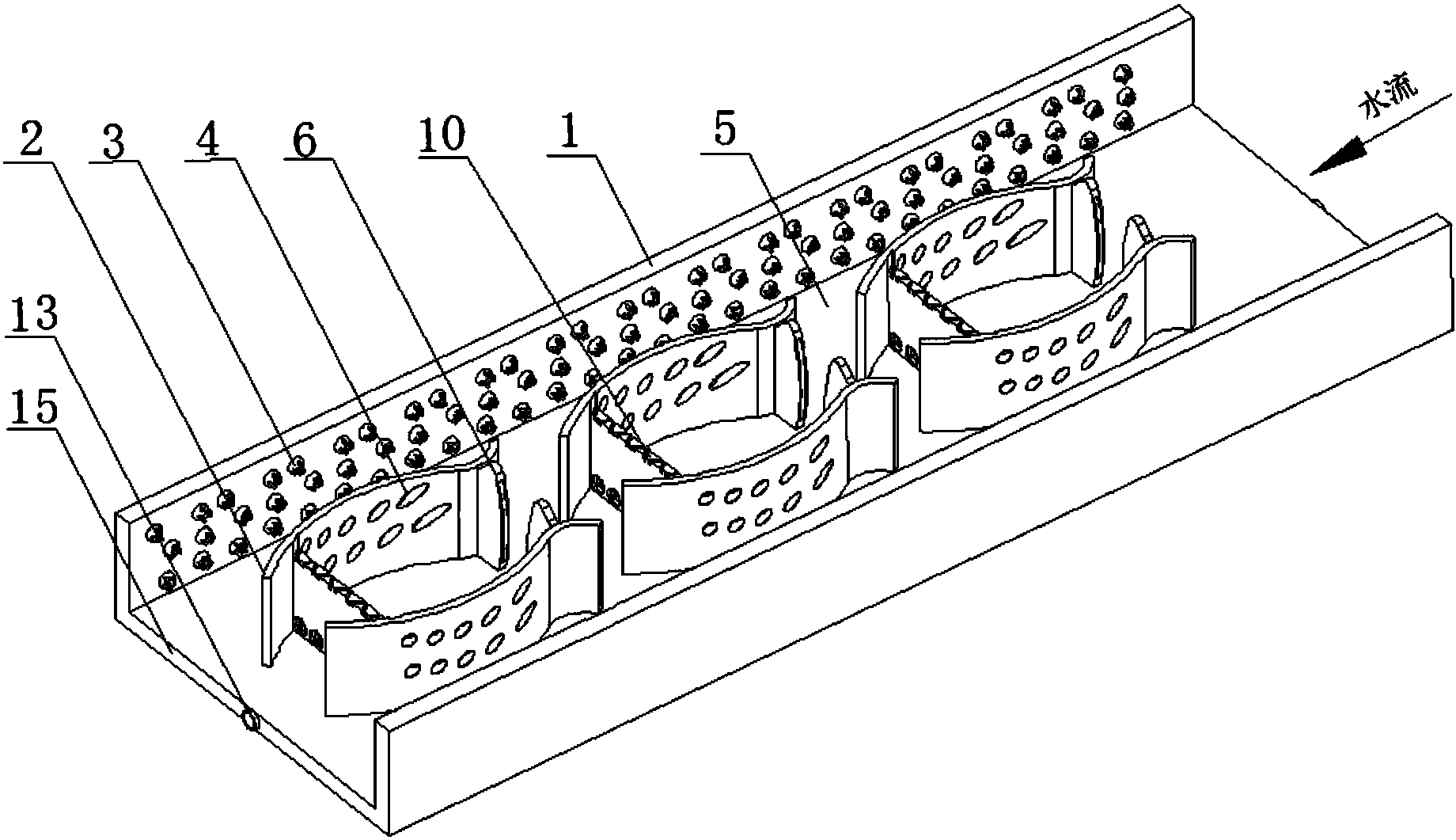
一种垂直双缝式鱼道的制作方法
图片尺寸569x402
本发明涉及鱼道设计领域,具体为一种琴键堰组合孔口式新型鱼道结构.
图片尺寸527x375
过鱼设施简介和大型水坝鱼道示意图
图片尺寸893x490
一种过鱼道模型
图片尺寸1952x1360
用于平原河网地区的生态鱼道
图片尺寸740x1000
cn113047243a_一种具备小型索饵场越冬场功能的竖缝式鱼道在审
图片尺寸1335x1059
一种横隔板式鱼道的制作方法
图片尺寸265x402
cn108277784a_适应于不同游泳能力鱼类的仿自然鱼道有效
图片尺寸1840x1061
一种仿自然鱼道的制作方法
图片尺寸648x1000
鱼道水力设计的基本要点与工程实例
图片尺寸1337x1019
背景技术:目前已有的鱼道设计装置进口和出口都确定,水流进水口即鱼道
图片尺寸715x1000
一种弯折式鱼道
图片尺寸646x1000
水车式减耗型鱼道的制作方法
图片尺寸443x440
一种竖缝式鱼道制造技术
图片尺寸1000x448
一种自动控制流量的鱼道装置制造方法及图纸
图片尺寸1000x755
鱼道
图片尺寸843x421
一种鱼类洄游通道的制作方法
图片尺寸454x222