鱼雷罐车参数

id="go0nah9f88">鱼雷车是大型高炉使用的横向较长呈鱼雷式的铁水罐
图片尺寸672x250
320t鱼雷型混铁车技术改进与运用
图片尺寸1449x2059
图9—96为混铁炉式铁水罐车,又称鱼雷罐车,它的上部开口小散热量也小
图片尺寸554x272
鱼雷式铁水罐的构造,功能与对耐火材料的要求
图片尺寸640x302
马鞍山钢铁厂"鱼雷罐"车驶出厂区通过道口
图片尺寸1024x576
运送铁水的鱼雷罐车
图片尺寸2999x1688
鱼雷罐车制动系统概述
图片尺寸462x319
马钢新车gkhd-01 牵引鱼雷罐至马鞍山站外
图片尺寸2565x1604
国六江铃顺达水罐消防车整车技术参数
图片尺寸967x719
灵巧鱼雷车(smar t tpc)运行效率创新高
图片尺寸1634x978
鱼雷罐用asc砖>
图片尺寸494x225
五菱征程9座18高配参数
图片尺寸1440x1080
320t鱼雷罐车传动机构设计
图片尺寸656x463
钢水运输车-鱼雷车-1
图片尺寸1280x720
一种新型18轴鱼雷罐车
图片尺寸800x256
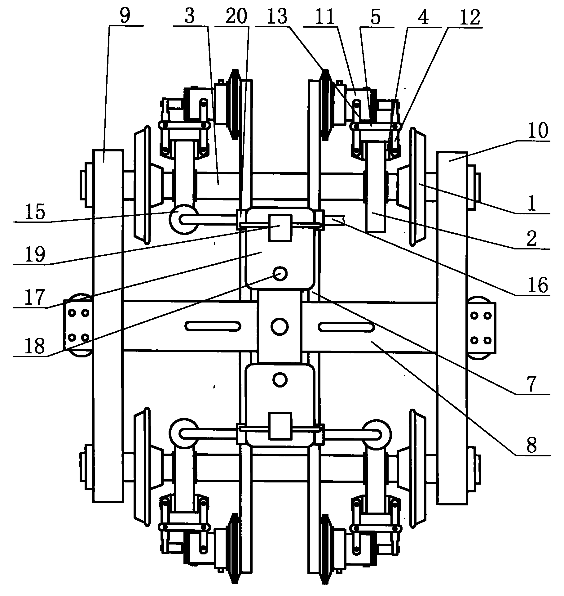
cn201165235y_装有轴盘式制动装置的鱼雷罐车失效
图片尺寸1820x1921
鞍钢厂内gkd0a0043号推送4辆铁水鱼雷罐空车回送炼铁厂
图片尺寸1728x1080
鱼雷罐车
图片尺寸300x180
鱼雷罐内衬材料结构的保温优化设计
图片尺寸554x274
活力梅钢┃建新功:三"度"发力,实现鱼雷罐周转率再突破_作业_物流
图片尺寸733x513