鲨鱼鳍结构图

科学故事no.7 | 大白鲨真的喜欢人类的味道吗?
图片尺寸1080x599
今天这篇教程是教你如何画鲨鱼的,并且是真实的鲨鱼结构,我看网上很多
图片尺寸600x280
都是肉扁扁鳐魟鲼大识别
图片尺寸1080x916
请观察如图,完成下列各题.
图片尺寸395x197
怎样淹死一条鱼?
图片尺寸640x513
sphyrna 鲨鱼解剖计划
图片尺寸700x300
电气元件制品的制造及其应用技术
图片尺寸1000x997
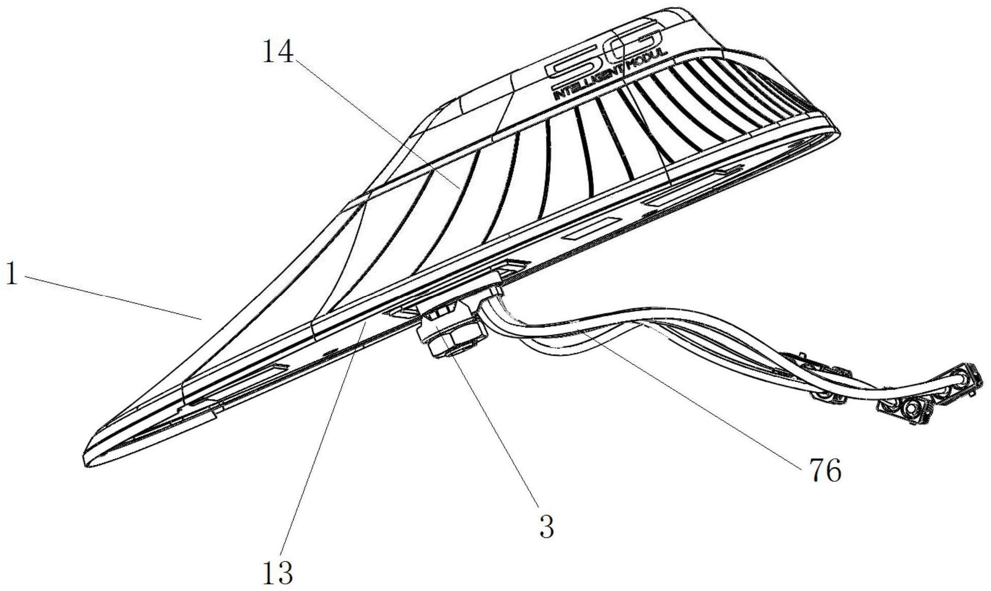
一种鲨鱼鳍智能天线
图片尺寸1571x1675
小课堂自由泳恢复鲨鱼鳍
图片尺寸1080x1439
鲨鱼鳍天线结构的制作方法
图片尺寸1000x587
cn209389208u_一种鲨鱼鳍天线
图片尺寸1000x896
ovo左右从傅歌转采于2020-04-20 21:13:41#动物#鲨鱼分类造型动物结构
图片尺寸658x901
鲨鱼- 中文维基百科【维基百科中文版网站】
图片尺寸500x210
汽车鲨鱼鳍(塑料)怎么能做到滑块夹线一点都没有?
图片尺寸1080x506
本实用新型涉及鳍式天线结构的技术领域,具体为5g多功能鲨鱼鳍天线.
图片尺寸910x1000
鲨鱼鳍天线结构
图片尺寸1000x587
一种具有预安装结构的鲨鱼鳍天线-爱企查
图片尺寸1941x1158
67印尼捕获一条人脸鲨鱼是变异物种还是外星生物
图片尺寸500x558
一种鲨鱼鳍天线的制作方法
图片尺寸1000x896
一种鲨鱼鳍5g多天线系统的制作方法
图片尺寸570x513