鹤管结构

常见鹤管型号简图-常见型号结构图-产品展示-连云港友城石化设备有限
图片尺寸1312x953
潍坊鹤管
图片尺寸750x634
鹤管工作流程示意图
图片尺寸500x309
汽车顶部装车鹤管
图片尺寸584x254
连云港诺事达优质鹤管厂家
图片尺寸2421x2379
鹤管的介绍
图片尺寸476x619
鹤管类
图片尺寸600x421
嘉威装车鹤管_万向管_汽车鹤管
图片尺寸945x534
鹤管上装改下装意义 鹤管(优质商家)
图片尺寸639x376
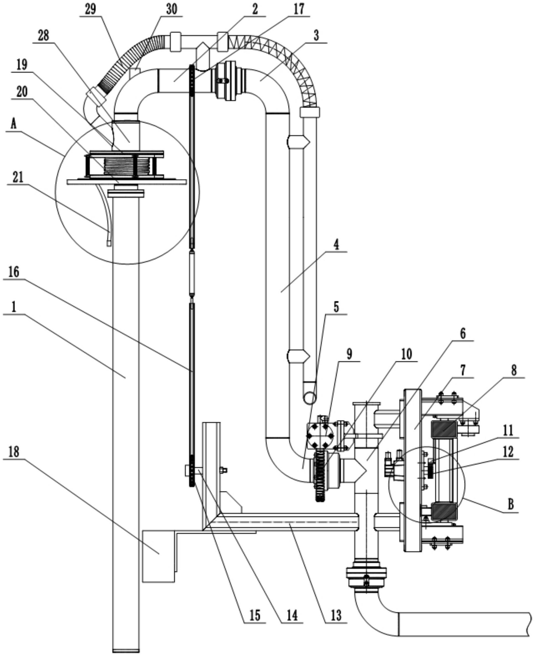
一种自动型悬臂式密闭装车鹤管及其控制方法
图片尺寸1937x1234
远大供应al2543汽车底部卸车鹤管--产品佳,质量优
图片尺寸471x340
al1402汽车顶部装卸臂卸油上装鹤管 发油鹤管 流体装卸臂万向鹤管
图片尺寸750x1045
具有油气回收功能的自动对位鹤管
图片尺寸1822x2235
三,液氨鹤管的特点和必要性
图片尺寸500x300
一种鹤管的安装结构-爱企查
图片尺寸800x556
cn101168081a_消防水鹤失效
图片尺寸1796x2105
鹤管是什么
图片尺寸700x600
鹤管,自动鹤管,气动鹤管,火车鹤管,气动火车装卸鹤管
图片尺寸1920x1369
底装鹤管.jpg
图片尺寸1831x1555
低温鹤管
图片尺寸710x602