麦克风构造部件图

动圈式麦克风( dynamic microphone )
图片尺寸750x456
电容式麦克风内部构造结构图
图片尺寸485x300
一种可调高低音和混响的麦克风
图片尺寸1891x1761
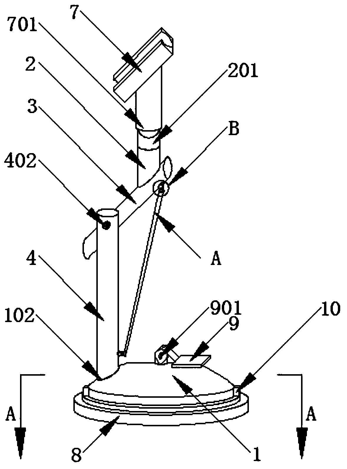
一种易组装的麦克风结构的制作方法
图片尺寸741x1000
一种多功能带皮套的麦克风制造技术
图片尺寸1000x870
6969话筒,也常被成为麦克风(microphone)是将声音转换成电信号的
图片尺寸576x429
什么是动圈话筒-动圈麦克风百科
图片尺寸600x553
驻极体话筒外形结构和电路原理
图片尺寸384x183
一种蓝牙麦克风的制作方法
图片尺寸1000x985
耳内式助听器主要有三个款式:ite , itc , cic ;麦克风,放大器
图片尺寸1240x997
常用话筒简介
图片尺寸353x270
一种麦克风结构的制作方法
图片尺寸1000x810
cn206149488u_一种吸盘式传声器麦克风结构有效
图片尺寸1000x846
flash动画素材:话筒的结构及工作原理
图片尺寸545x397
驻极体话筒的特点
图片尺寸700x1013
驻极体电容式麦克风(咪头)结构
图片尺寸800x500
一种双咪芯布局的麦克风声学结构的制作方法
图片尺寸1000x963
传声器的图形符号及结构图
图片尺寸2160x718
一种礼堂用可快速安装的麦克风安装结构-爱企查
图片尺寸1178x1593
一种麦克风设备的制作方法
图片尺寸836x1000