麻醉平面图

椎管内麻醉
图片尺寸487x320
腰硬联合麻醉专家共识
图片尺寸1080x810
在腰椎上做麻醉都叫"腰麻"吗?
图片尺寸600x1000
麻醉科医师900问:椎间孔与脊神经干阻滞有何关系?
图片尺寸600x390
成像手术麻醉专家共识
图片尺寸693x365
腰麻和硬膜外麻醉的区别
图片尺寸800x1132
麻醉机:活动性肺结核患者,可能经空气传播患者术后都要消毒;常规至少
图片尺寸500x317
会议预告6月29日2018中国心胸麻醉大会
图片尺寸652x759
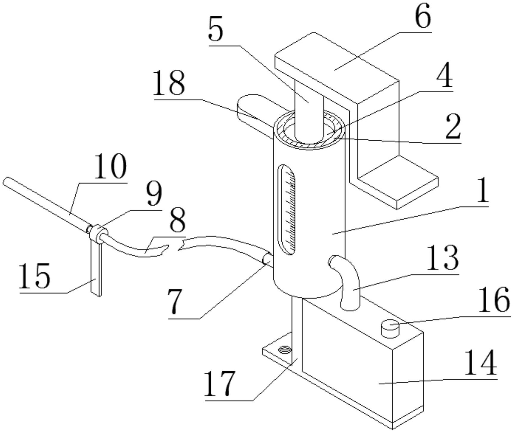
一种克服儿童麻醉恐惧的麻醉装置-爱企查
图片尺寸591x800
椎管内麻醉
图片尺寸1080x810
67体位与麻醉13种常用手术体位总结
图片尺寸1079x771
麻醉机市场进口替代空间广阔政策红利医院升级扩容
图片尺寸792x720
打好麻醉针后,麻醉师会用小针刺探切口上下处,来判断麻醉的平面高低
图片尺寸259x400
无痛自动麻醉装置
图片尺寸1652x777
麻醉设施
图片尺寸500x680
(b)皮肤神经区(详细说明见相关章节)(经danilo jankovic许可)麻醉平面
图片尺寸831x812
硬膜外麻醉ppt
图片尺寸1080x810
一种用于硬膜外麻醉置针的辅助装置-爱企查
图片尺寸1322x1083
cn213312748u_一种麻醉科临床局部麻醉装置有效
图片尺寸1724x1454
异氟烷麻醉操作步骤
图片尺寸557x341