齿轮抛光机

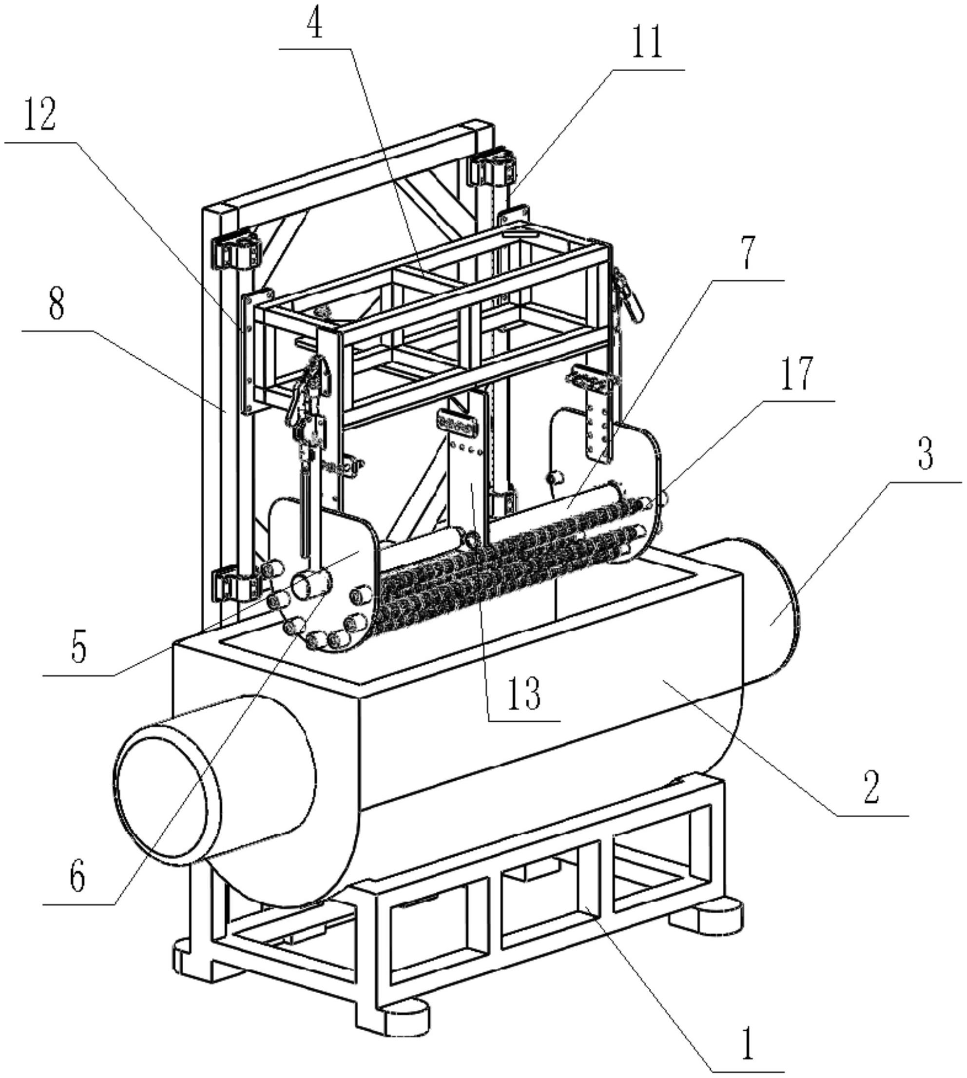
新型齿轮抛光机采用先进技术,可去除齿轮毛刺,倒角,提高齿面光洁度等
图片尺寸1918x1280
新型齿轮抛光机采用先进技术,可去除齿轮毛刺,倒角,提高齿面光洁度等
图片尺寸1920x1280
牙科抛光机双顶单顶抛光机抛胶托切割打磨 加工厂用牙科设备
图片尺寸1920x1919
可以加油的齿轮砂带抛光机机头薄厚适中可以几个各类异形五金管材弯管
图片尺寸800x800
180毫米 1200w 变速油车电动汽车抛光机机
图片尺寸6180x5818
多功能圆盘自动抛光机lc-zp904a
图片尺寸1000x1000
多功能圆盘自动抛光机lc-zp904a
图片尺寸1000x1000
一种齿轮抛光机-爱企查
图片尺寸1984x2212
新型齿轮抛光机采用先进技术,可去除齿轮毛刺,倒角,提高齿面光洁度等
图片尺寸1918x1280
数控抛光机
图片尺寸436x600
多功能圆盘自动抛光机lc-zp904a
图片尺寸1000x1000
脉冲流速抛光机齿轮卷边去毛刺解决方案
图片尺寸843x744
圆盘自动抛光机
图片尺寸1080x1438
分体式四轴研磨抛光机
图片尺寸2500x1876
精密齿轮去刺抛光机#支持定制各种款式及尺寸 #专业生产厂家
图片尺寸1440x1920
齿轮去毛刺用悬浮抛光机设备效果
图片尺寸800x800
劲牛27寸高速抛光机左
图片尺寸500x500
七台河rh700齿轮传动大理石地坪抛光机
图片尺寸600x600
磁力抛光机:传递感动,温暖制造业之心
图片尺寸640x467
圆盘自动抛光机
图片尺寸1080x1438