龙门举升机图纸

5-a4龙门举升机载重4吨
图片尺寸960x1393
龙门吊在生产制作的时候,需要提前设计图纸,图纸的设计是需要篙据
图片尺寸1110x788
厂家供应龙门吊mh型5-20吨电动葫芦门式起重机 优质桁架式起重机
图片尺寸1600x1280
大通依维柯汽车专用5吨龙门举升机 商务车检修大举升机 发送全国
图片尺寸1357x1920
新品上市丨4吨单边解锁双柱龙门举升机
图片尺寸1080x1639
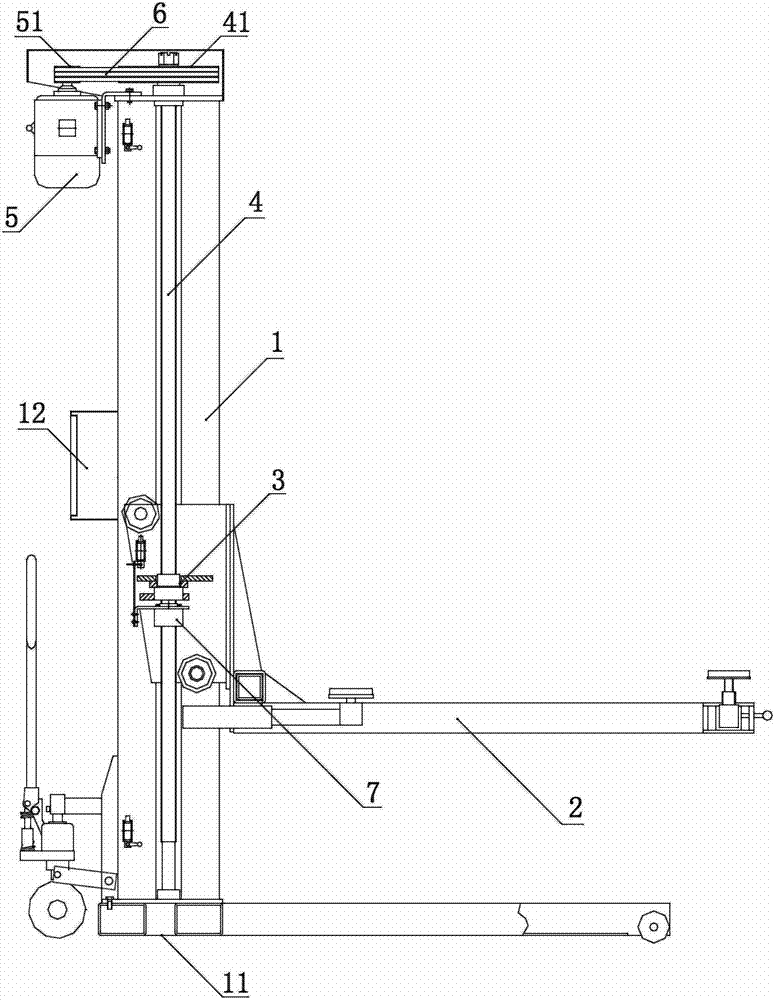
cn201351099y_油缸直顶龙门式汽车举升机失效
图片尺寸1483x2239
cn101203451b_提升负载所用的门式起重机有效
图片尺寸1963x1663
上海安特力yd240龙门双柱举升机
图片尺寸432x595
> 液压双柱龙门举升机
图片尺寸600x913
龙门举升机升降机
图片尺寸720x1202
龙门双柱举升机安装尺寸图
图片尺寸890x552
13米 定制 10吨 龙门吊 mh型电动葫芦门式起重机(桁架式)门机
图片尺寸1920x932
3/4t双杠电磁阀解锁汽车龙门双柱举升机qjy3.0-d4/djy4.0-d4
图片尺寸468x461
cn104210991a_一种用于汽车的单柱移动式举升机有效
图片尺寸774x1000
16t龙门吊机结构简图
图片尺寸520x408
高昌电动龙门举升机gc40pro
图片尺寸750x1000
供应汽车举升机 二柱,四柱,剪式,龙门举升机 质量保证
图片尺寸700x510
中一汽保集团-中一中仕zs-qjy40m龙门举升机
图片尺寸637x329
通用门式起重机cad图纸
图片尺寸1600x1280
l型20t5t单主梁吊钩门式起重机主要技术参数
图片尺寸1331x654