龙门剪图纸

快速缸龙门剪切机的制作方法
图片尺寸835x1000
龙门剪 #废钢龙门剪 1250龙门剪现货三台,2米2.5米 - 抖音
图片尺寸1440x1920
龙剪纸教程
图片尺寸750x1000
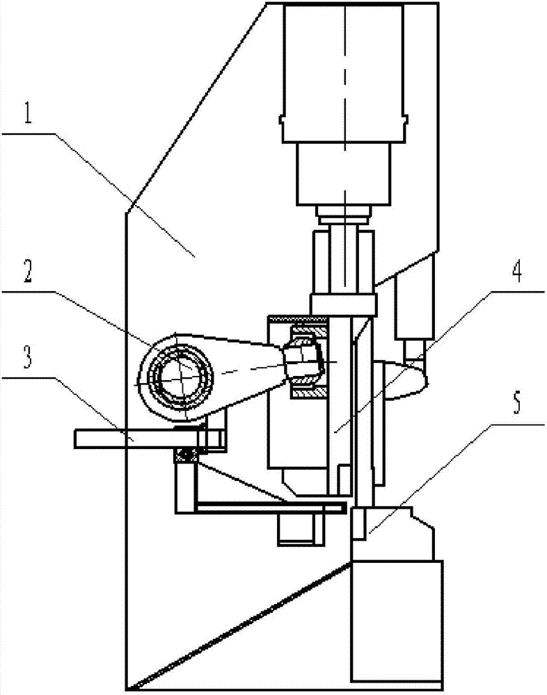
快速缸龙门剪切机
图片尺寸843x1000
龙门剪
图片尺寸786x1000
一种双作用液压龙门剪的制作方法
图片尺寸1000x914
龙门剪快速换刀装置制造方法及图纸
图片尺寸385x604
一种龙门剪切机
图片尺寸1060x1025
新型龙门剪增速液压控制系统
图片尺寸1954x1780
20对折龙剪纸
图片尺寸1280x1902
99新江山重工400吨一米四刀口龙门剪,单盒盖,带油,全自动 - 抖音
图片尺寸1080x1440
q15-200液压龙门剪
图片尺寸400x400
场地更换大型龙门剪,处理一台400吨,一米四刀口龙门剪,两台 - 抖音
图片尺寸1079x1440
60刀口龙门剪,浓缩的精品,专剪,铝板铜板 做有色金属的老 - 抖音
图片尺寸1080x1920
现货500吨龙门剪,1.6米刀口 - 抖音
图片尺寸1440x1918![龙门刨床,精度还很靓,没人要搬回去卖废铁[悠闲] - 抖音](https://i.ecywang.com/upload/1/img2.baidu.com/it/u=1080901276,149663385&fm=253&fmt=auto&app=138&f=JPEG?w=800&h=1067)
龙门刨床,精度还很靓,没人要搬回去卖废铁[悠闲] - 抖音
图片尺寸1080x1440
400t江山重工龙门剪,九成新,随时可以看货 - 抖音
图片尺寸1440x1920
一种龙门剪快速回程液压动力机构的制作方法
图片尺寸973x1000
龙门式剪切机设计(全套含cad图纸)_人人文库网
图片尺寸841x594
常熟龙门剪图纸cad虎头剪图纸
图片尺寸484x521