龙门机器人简图

一种用于物料搬运的龙门式机械手的制作方法
图片尺寸1000x852
cn101559597b_多功能龙门式七轴工业机器人失效
图片尺寸1788x2080
cn204997257u_多功能五轴龙门式焊接一体机器人有效
图片尺寸1000x937
移栽龙门机械手 - 机器人模型图纸 - 沐风网
图片尺寸797x686
龙门架激光加工机器人
图片尺寸1068x1102
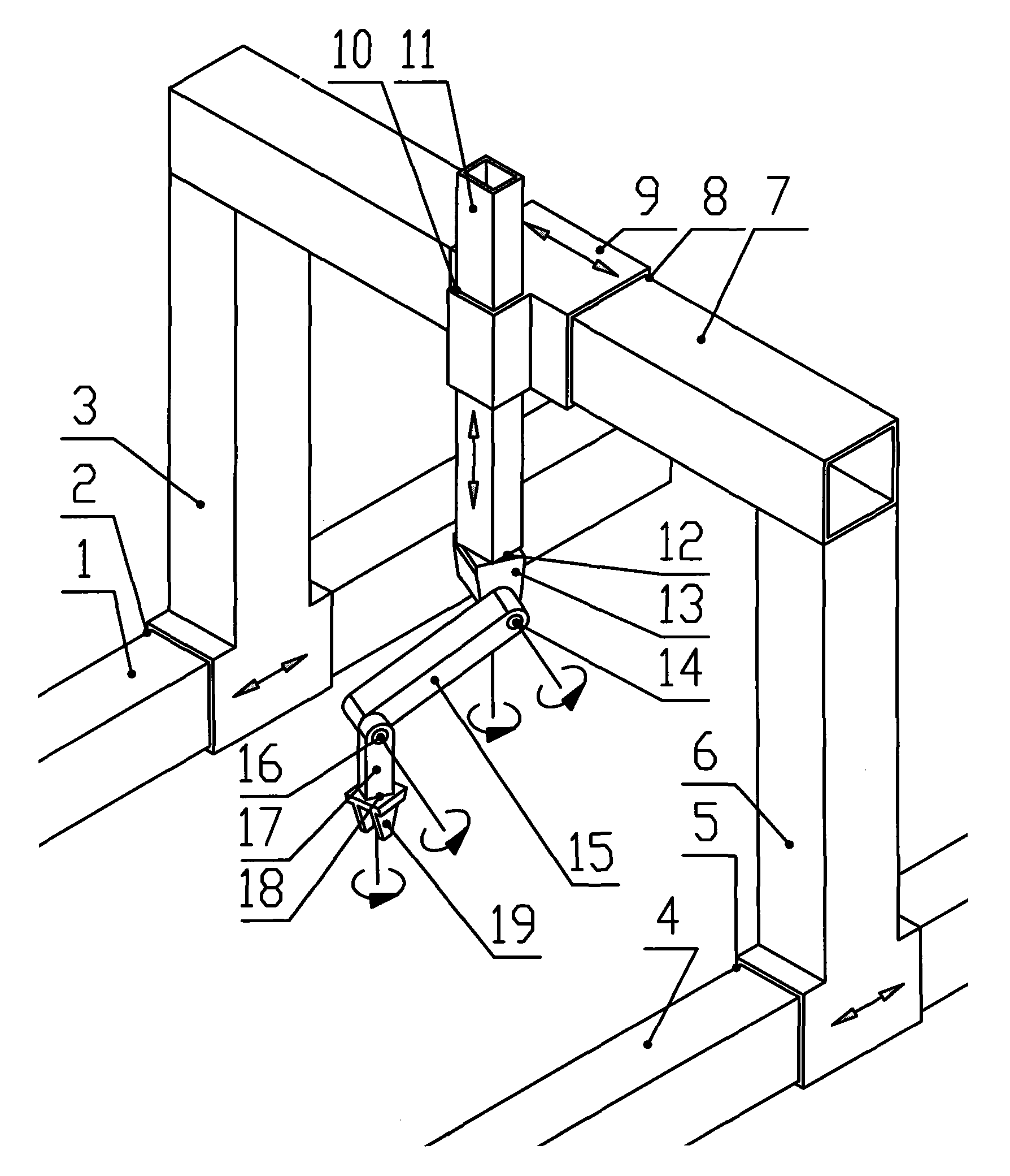
一种龙门式果实自动采收机器人的制作方法
图片尺寸922x1000
一种龙门式果实自动采收机器人
图片尺寸922x1000
龙门架卸料机械手 - 机器人模型图纸 - 沐风网
图片尺寸695x738
龙门式桁架机器人
图片尺寸514x496
一种集战疫急救安全于一体的智能机器人
图片尺寸1621x1852
一种改进型变形机器人
图片尺寸1654x1895
一种龙门架式焊接机器人工作站的制作方法
图片尺寸1000x800
龙门式机械手
图片尺寸1000x846
工业机器人
图片尺寸1200x1652
龙门式焊接机器人
图片尺寸1354x887
龙门架三轴机械手 - 机器人模型图纸 - 沐风网
图片尺寸785x770
三轴龙门式桁架机械手 - 机器人模型图纸 - 沐风网
图片尺寸820x612
龙门焊接机器人设计
图片尺寸820x421
龙门焊接机器人三维
图片尺寸820x547
龙门机器人对工件进行喷砂.
图片尺寸601x464