12j1图集池防3

好工程必有好图纸模块连载1
图片尺寸481x567
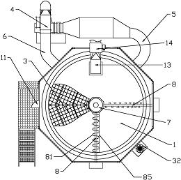
申请公布号 cn207998590u 申请号 cn201820229979 分类号 c12j1/10
图片尺寸1072x1591
1043_610
图片尺寸1043x610
12j13 太阳能热水系统与建筑一体化 12系列建筑标准设计图集
图片尺寸750x541
求图集12j161踢3b截图谢谢
图片尺寸760x537
建筑工程质量通病及图集解读.doc
图片尺寸1122x1587
12j1工程做法图集 pdf高清电子版
图片尺寸900x631
12j1工程做法
图片尺寸1093x786
求图集12j1-78- 内墙3b截图,谢谢!-服务新干线答疑解惑
图片尺寸748x536
12j1工程做法工程用料做法
图片尺寸1200x848
专利详情
图片尺寸260x258
12bj11工程做法图集c内墙面踢脚墙裙
图片尺寸1200x1697
12j1工程做法 工程用料做法-图一12系列华北标建筑图集工程用料做法
图片尺寸1200x848
请发一下图集12j133地201谢谢
图片尺寸746x516
12j1 散1/160 160是什么意思-服务新干线答疑解惑
图片尺寸776x589
3 分类号 c12j1/00(2006.01)i;c12r1/02(2006.
图片尺寸1062x2223
12j1工程做法 工程用料做法-图一12系列华北标建筑图集工程用料做法
图片尺寸1200x848
及性能表_平屋面做法图集12j1301j13_12j1301图集j13_建筑图集12j130
图片尺寸740x538
专利详情
图片尺寸419x484
12j1裙3bf,cf-通高是啥意思
图片尺寸576x327