1950受电弓尺寸图

铁路接触网受电弓的规格
图片尺寸1573x756
受电弓尺寸图 1,最低工作高度640±10mm 2,最小接触网高度1050mm
图片尺寸1080x810
受电弓弓头和受电弓
图片尺寸1874x1964
动车组 dsa250 型受电弓原理及运用故障分析--中国期刊网
图片尺寸525x308
dsa250受电弓
图片尺寸2304x1440
tsg15b型受电弓
图片尺寸872x621
7-2 单臂受电弓的基本结构
图片尺寸1920x1080
铁路接触网受电弓的规格
图片尺寸1564x1516
dsa250受电弓
图片尺寸380x439
tsg18b型受电弓
图片尺寸625x880
轨道交通工具受电弓
图片尺寸1848x1682
轨道交通用受电弓的制作方法
图片尺寸1000x822
轨道交通用受电弓
图片尺寸1494x1229
tsg15b型受电弓
图片尺寸638x343
《dsa200受电弓》ppt课件.ppt_第3页
图片尺寸800x600
受电弓
图片尺寸484x404
受电弓机构综合119页
图片尺寸920x1302
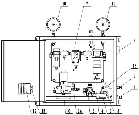
一种受电弓升弓用气阀箱
图片尺寸595x491
受电弓裂纹故障检测现状及改进措施
图片尺寸1000x720
一种受电弓用主动控制装置-爱企查
图片尺寸1816x1455