25t型客车 车钩

25t型客车车辆的连挂装置采用与以往不同的车钩连挂,而是采用更先进的
图片尺寸1440x1080
25t客车密接式车钩
图片尺寸1263x613
25t客车密接式车钩
图片尺寸1263x601
25t客车密接式车钩
图片尺寸1263x605
25t客车密接式车钩
图片尺寸1263x605
白小姐四肖必选期期准2021
图片尺寸720x540
mtc的车钩真可谓"一枝独秀",车钩走自己的标准,导致其他车辆无法直接
图片尺寸1536x864
轨道车辆车钩的发展历程
图片尺寸580x435
25t客车密接式车钩
图片尺寸1263x457
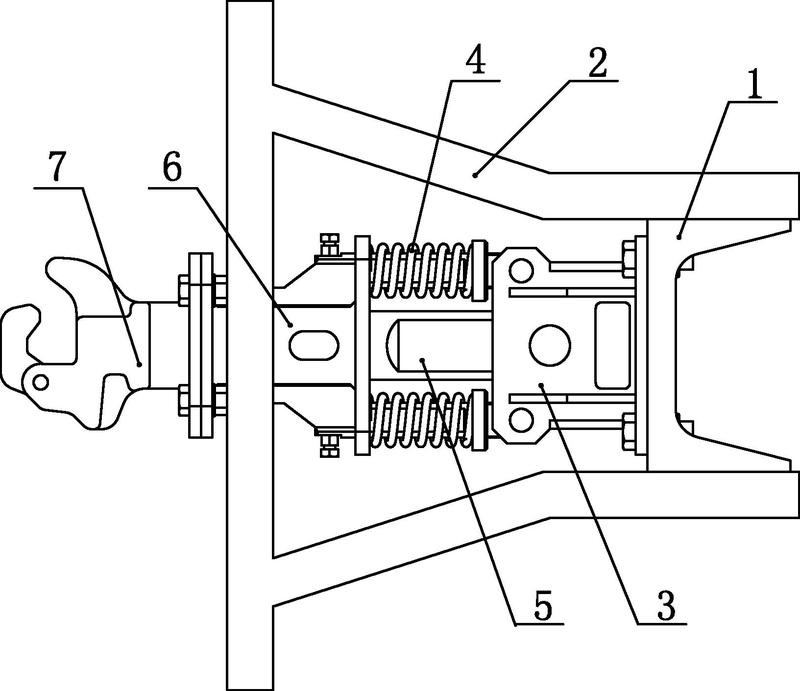
目前我国大部分普速客车使用15号车钩(25t型客车采用密接式车钩).
图片尺寸1080x810
【铁路】客车k339次龙家营13道通过 列尾附挂wx25t-999530
图片尺寸2496x1561
(kunter自主研制的中国客车专用密接式车钩也在开发中)跑车更加稳定
图片尺寸750x563
更换了25t型客车的沿海公司通勤与沿海公司gtc80j轨道探伤车
图片尺寸863x540
客车整备库编组内有四辆沈局检测车25k轨道检查车25t接触网检测车25t
图片尺寸1582x989
一种25t型客车过渡车钩-爱企查
图片尺寸800x691
25t型客车
图片尺寸580x435
铸铁车钩15号车钩机车车钩材质
图片尺寸750x750
而速度更快的25t客车和动车组则采用了密接式车钩,不会出现震动的现象
图片尺寸500x366
郑州车辆段备好宝马良驹再出征
图片尺寸1267x845
车钩_动车组_进行
图片尺寸900x600