273弯头图纸

弯头弯曲半径(转)
图片尺寸700x441
弯头规格尺寸附图2
图片尺寸920x1302
耐磨陶瓷弯管图纸设计
图片尺寸562x331
请教: 管子直径273的45°弯头,下图弯头外弧与内弧的弧长是多少?
图片尺寸674x614
整体煨制的弯头的平面展开图怎么画,不要分节,求示例
图片尺寸2480x3507
5d长半径弯头下载(52.32 kb,dwg格式) 机械cad图纸
图片尺寸583x385
食品管件卫生级焊接弯头
图片尺寸717x491
弯头展开计算表
图片尺寸730x872
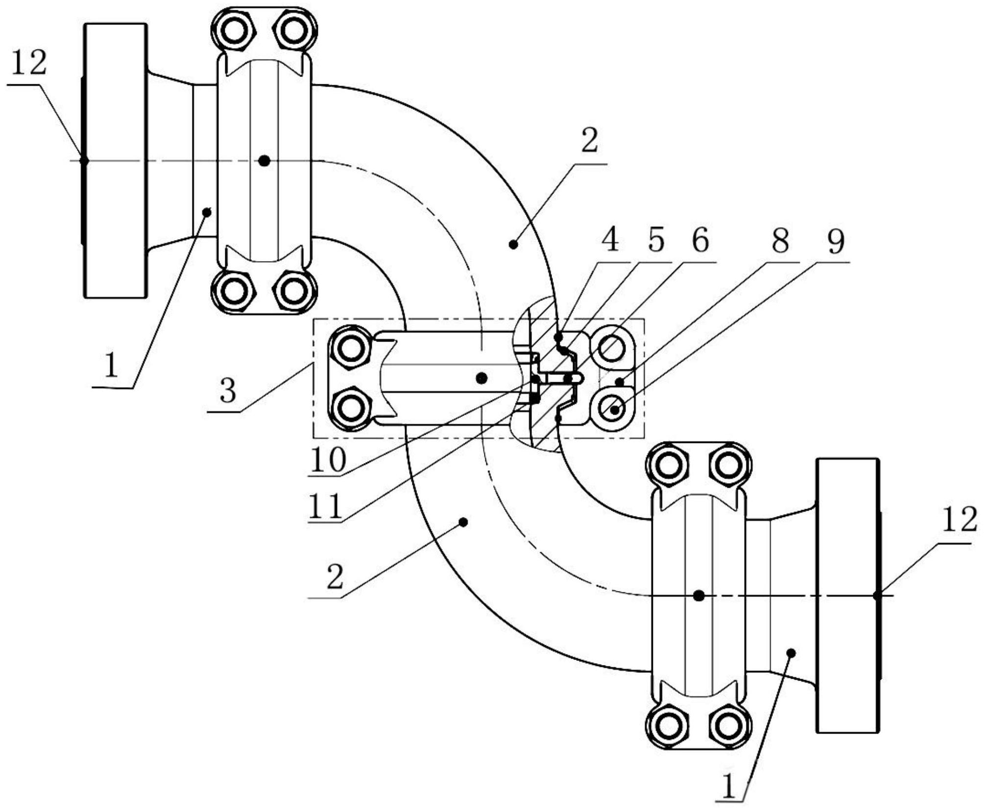
一种大规格高压活动弯头结构-爱企查
图片尺寸2009x1653
三转二(箱体类零件)—弯头2
图片尺寸1031x730
45度弯头设计图__施工图纸_环境设计_设计图库_昵图网
图片尺寸1024x661
钢制弯头大样图
图片尺寸560x402
Φ273 弯头管坯精确下料
图片尺寸854x461
耐磨弯头放样方法
图片尺寸561x675
不锈钢弯头规格word版
图片尺寸920x1302
求在autocad 2007 上画弯头的步骤 先画出什么样的图像然后再用圆角
图片尺寸1370x1030
弯头图下载(209.50 kb,dwg格式) 机械cad图纸
图片尺寸619x890
实用铆工手册(第二版)最新章节_胡忆沩著_掌阅小说网
图片尺寸1026x1068
虾米腰弯头的制作方法和详细的图纸
图片尺寸640x454
弯头放样
图片尺寸600x418