35kv穿墙套管结构

35kv变压器套管节点详图
图片尺寸778x763
一种穿外墙套管防水结构的制作方法
图片尺寸1000x843
穿墙套管图集
图片尺寸838x579
地下室外墙穿墙套管做法节点详图
图片尺寸560x394
p>穿墙套管又叫做穿墙管,防水套管,墙体预埋管,防水套管分为 a href=
图片尺寸700x462
风管穿墙什么时候可以情况计算套管,套管怎么套定额?
图片尺寸709x685
给排水穿墙套管安装规范
图片尺寸560x411
人防密闭穿墙套管的应用与选择
图片尺寸640x396
外墙防水穿墙套管处节点构造防水设计要点有哪些?
图片尺寸618x561
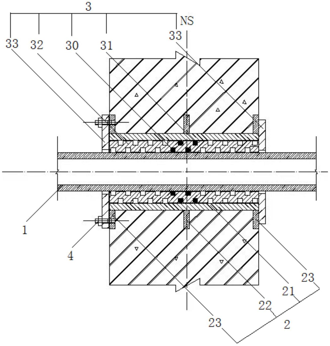
中性面设柔性动密封组件的防水穿墙套管结构
图片尺寸1404x1472
穿墙套管试验报告
图片尺寸635x389
35kv穿墙套管概述 35kv穿墙套管为环氧树脂apg工艺压力凝胶成型结构
图片尺寸700x238
6穿墙管加套管埋设
图片尺寸725x511
cn109119956a_一种绝缘填充型电容式穿墙套管在审
图片尺寸504x1844
套管穿过墙体时防水做法
图片尺寸790x448
穿墙防水套管的安装你得知道
图片尺寸640x528
一种穿墙套管的制作方法与工艺
图片尺寸457x241
高压户外式穿墙套管的安装
图片尺寸1078x694
穿墙壁套管
图片尺寸610x432
地下室外墙预埋钢套管穿墙防水节点详图
图片尺寸560x280