492121

la grande classic automatic white dial mens watch 49212112 l4
图片尺寸900x900
64c492121e775e5ff919b854
图片尺寸640x439
下载626969acom
图片尺寸286x491
卡斯诺白/黑漆皮欧美范细高跟水台凉鞋c0492121_唯品会
图片尺寸420x530
钢带休闲时尚男士手表自动机械商务男表l49212127间金条丁l49212127
图片尺寸640x640
【jomashop】 longines la grande classique presence
图片尺寸900x900
(重庆-万州) 关注 g 私信 = 他的主页 他的相册 366 关注 492121
图片尺寸360x640
(重庆-万州) 关注 g 私信 = 他的主页 他的相册 366 关注 492121
图片尺寸360x640
(重庆-万州) 关注 g 私信 = 他的主页 他的相册 366 关注 492121
图片尺寸360x640
492121 3419792 3 0 0 1 492121 3419834 1 0 0 2 492121 3419833 2 0
图片尺寸553x415
491818/491919/492020/492121/492222/492323/492424/492525/492626
图片尺寸1060x1500
con-淘码492121.com-官网首页
图片尺寸400x300
空杯 关注 g 私信 = 她的主页 她的相册 444 关注 492121 粉丝
图片尺寸368x640
精选流通分币大全套缺5大天王57一分-au3492121-人民币-加价-7788收藏
图片尺寸1600x827
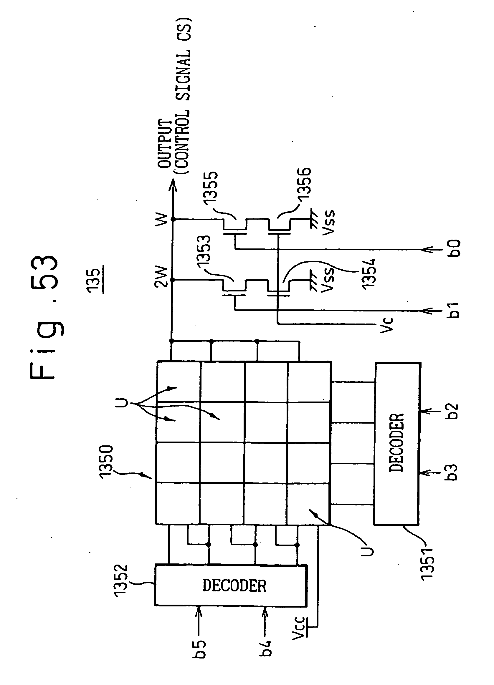
专利ep1492121b1 - zeitgeberschaltung, vorrichtung und system
图片尺寸1677x2327
补款 东大门爆款17(180323125411121353)裙子 商品货号: ddm4492121
图片尺寸756x1008
直邮超话主持人 关注 g 私信 = 她的主页 她的相册 499 关注 492121
图片尺寸360x463
精选流通分币大全套缺5大天王57一分-au3492121-人民币-加价-7788收藏
图片尺寸1600x1065
con-淘码492121.com-官网首页
图片尺寸500x750
直邮超话主持人 关注 g 私信 = 她的主页 她的相册 499 关注 492121
图片尺寸360x364