500ml矿泉水瓶加速器

随后要注意矿泉水瓶中的密码表,由于下一道谜题的谜底就这里面.
图片尺寸640x1136
新华医疗研制的"一体化计算机断层扫描影像引导直线加速器"成功突破了
图片尺寸640x360
扫地机器人哪个牌子好?5款扫地机器人实测推荐
图片尺寸800x800
2024年第六期广州科普开放日活动(黄埔区)
图片尺寸1080x1077
抛塑料瓶儿挑战waterbottleflipchallenge加速器
图片尺寸450x800
新华医疗研制的"一体化计算机断层扫描影像引导直线加速器"成功突破了
图片尺寸640x360
山西税务:多措并举护航重点项目建设
图片尺寸660x440
山西税务:多措并举护航重点项目建设
图片尺寸397x262
山西税务:多措并举护航重点项目建设
图片尺寸660x279
全球首个奥特曼主题馆落户上海海昌海洋公园;迪士尼宣2022年加速器
图片尺寸1080x784
矿泉水瓶厂加速器
图片尺寸480x288
猫王加速器 猫王vpn【官网】-畅游全球网络
图片尺寸640x640
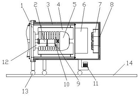
一种自屏蔽加速器及利用该加速器的pet塑料瓶生产线-爱企查
图片尺寸470x327
食用油被发现是"肝病"的加速器,多位专家:这3种油再香也别吃_韭菜
图片尺寸1150x712
扔塑料瓶挑战4加速器
图片尺寸300x300
扔塑料瓶挑战1加速器
图片尺寸450x799
随后要注意矿泉水瓶中的密码表,由于下一道谜题的谜底就这里面.
图片尺寸640x1136
丽水多功能塑料瓶打包机用途广泛
图片尺寸800x800
塑料瓶跳跃加速器
图片尺寸334x526
佰和精酿啤酒330ml佰和精酿啤酒500ml广西合心盛食
图片尺寸500x460