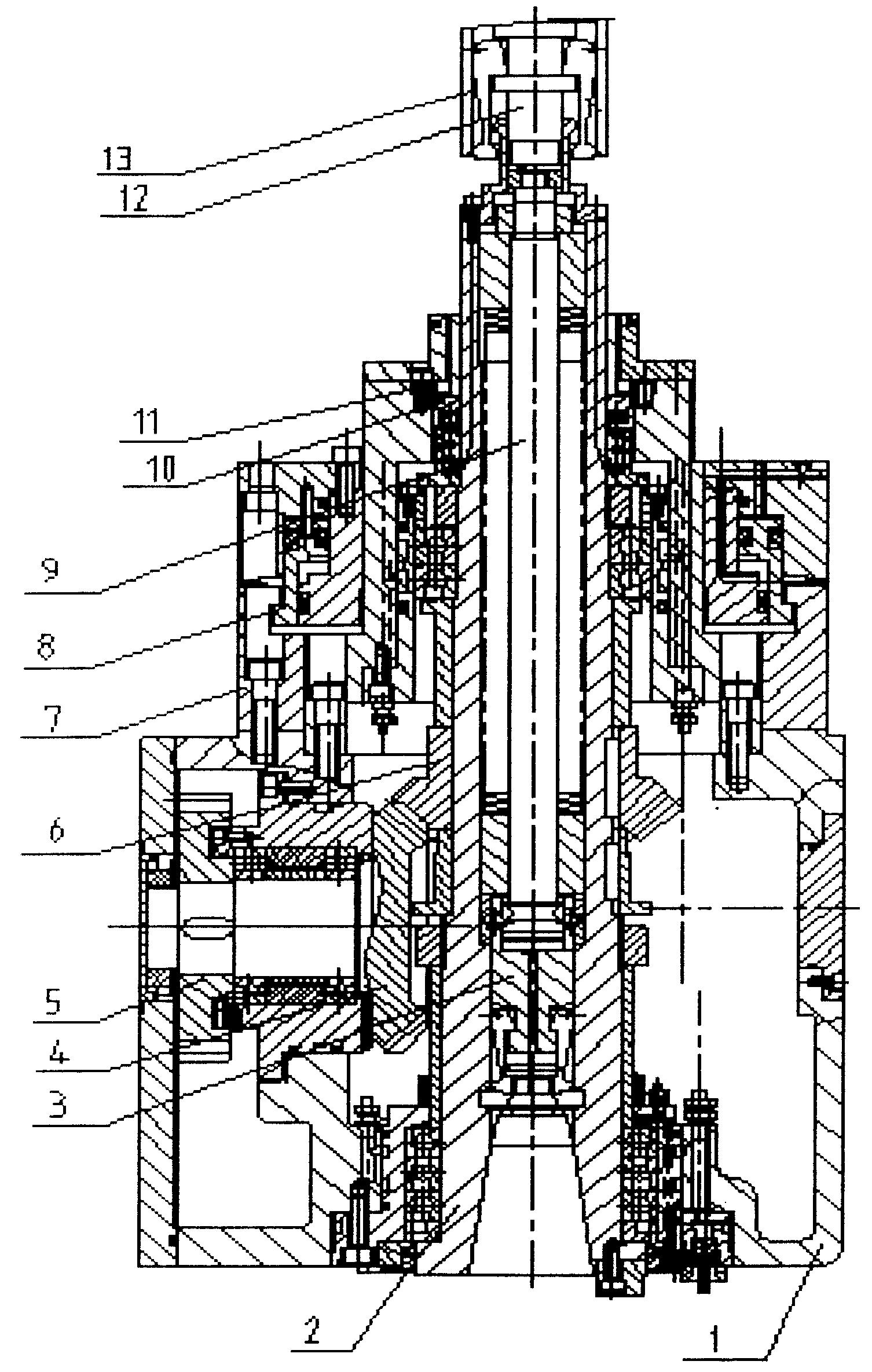
53k铣床主轴结构图

请教铣床主轴的结构
图片尺寸565x425
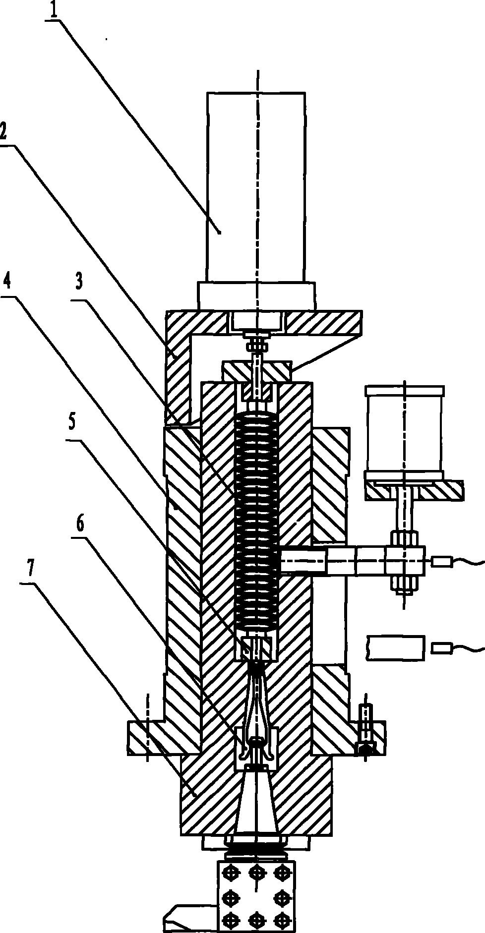
一种数控铣床高速主轴机构
图片尺寸924x502
数控机床主轴结构图ppt课件
图片尺寸800x600
铣床主轴图纸
图片尺寸1188x918
数控铣床主轴部件的维修与调试
图片尺寸640x480
数控机床主轴结构图
图片尺寸800x600
求质机械专业订做铣床主轴动力头主轴数控机床光轴花键轴及轴套
图片尺寸600x450
一种铣床主轴结构的制作方法
图片尺寸1000x320
x6132型万能卧式升降台铣床主轴变速系统装配图
图片尺寸728x514
购客r8锣床配件铣床主轴总成城b132主轴花建轴轴承摇臂炮塔铣床台易购
图片尺寸600x600
x5032立式铣床主要技术参数 x5032 x5032bh 主轴端面至工作台距离
图片尺寸790x678
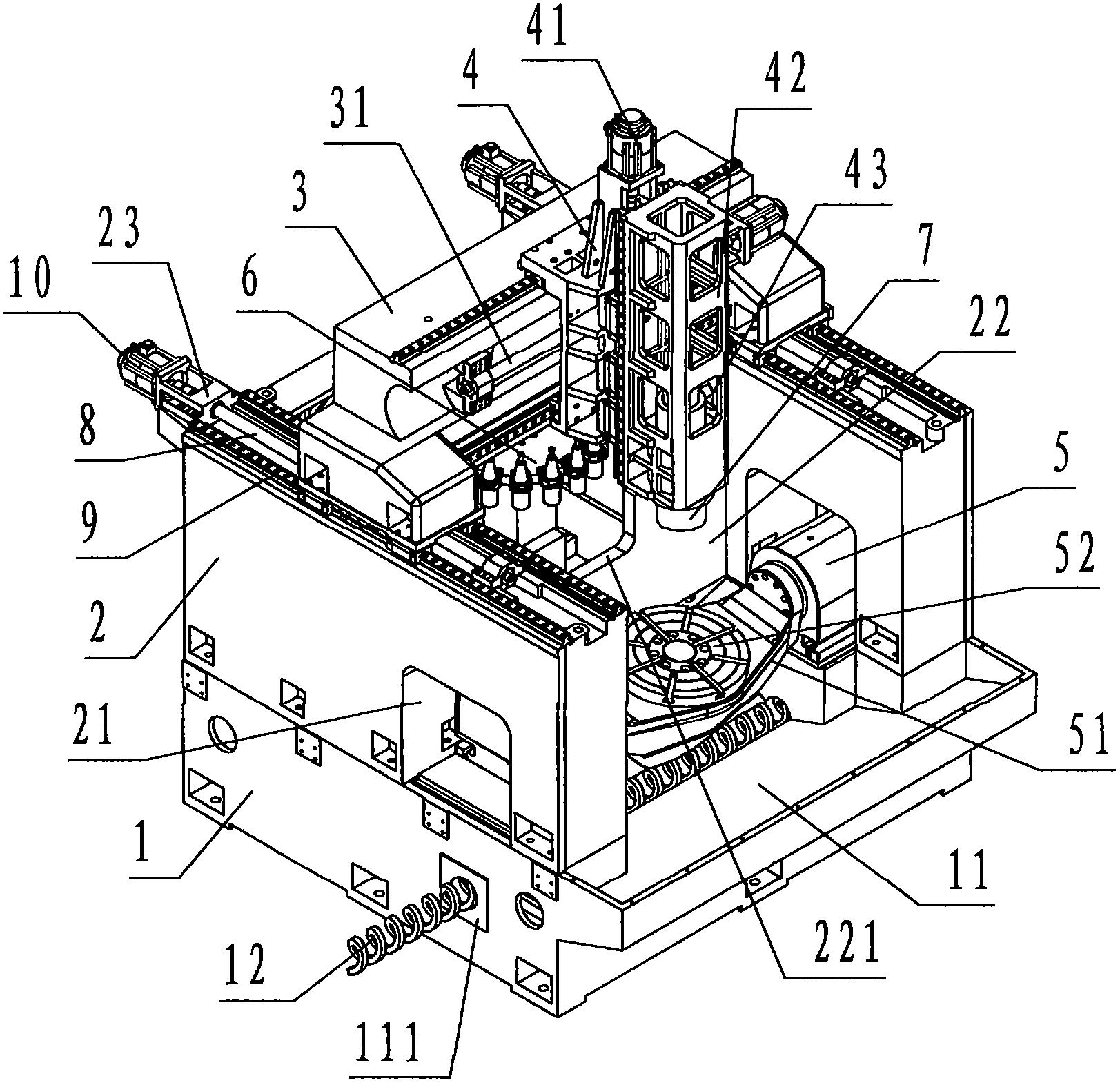
一种台式钻铣床主轴传动机构制造技术
图片尺寸912x1000
铣床主轴箱结构图
图片尺寸792x429
一种钻铣床主轴伸缩机构的制作方法
图片尺寸1000x473
铣床主轴加工
图片尺寸820x656
cnc主轴结构设计
图片尺寸820x465
数控铣床主轴箱结构设计
图片尺寸750x550
数控铣床主轴22kwhsk-a100
图片尺寸884x1105
铣床主轴加工
图片尺寸820x656
加工中心,高速精密数控铣床的主轴设计
图片尺寸362x189