7120磨床主轴示意图

m1432万能外圆磨床砂轮主轴的改造-瓦房店光阳轴承股份有限公司
图片尺寸494x483
磨床主轴的维修技术
图片尺寸750x400
磨床主轴的维修技术
图片尺寸750x400
数控磨床电主轴典型故障分析与排除方法 - 深圳恒兴隆机电
图片尺寸680x486
轧辊磨床主轴
图片尺寸920x482
主轴
图片尺寸2338x1653
平面磨床主轴的选择与维修方案
图片尺寸640x397
识读型车床主轴装配图
图片尺寸706x287
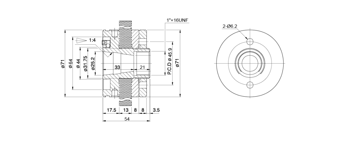
一种高精密平面磨床主轴
图片尺寸1870x1167
图为日本nakanishi内圆磨床主轴pl600-m20404,钻削用电主轴钻削用电
图片尺寸420x285
浅谈杭州平面磨床主轴结构及形式改造
图片尺寸740x352
用旧零件凑了一台小磨床
图片尺寸1024x798
没事学个结构——高精度磨床主轴结构
图片尺寸1080x451
加工中心主轴系统设计
图片尺寸820x580
磨床还是电主轴哦 给你来两张电主轴的看看吧 向左转 向右转
图片尺寸627x384
图8-9 c616车床主轴
图片尺寸1328x514
平面磨床主轴
图片尺寸600x371
数控机床主轴结构图
图片尺寸447x375
cn2822877y_数控轧辊磨床的砂轮主轴结构失效
图片尺寸2257x1236
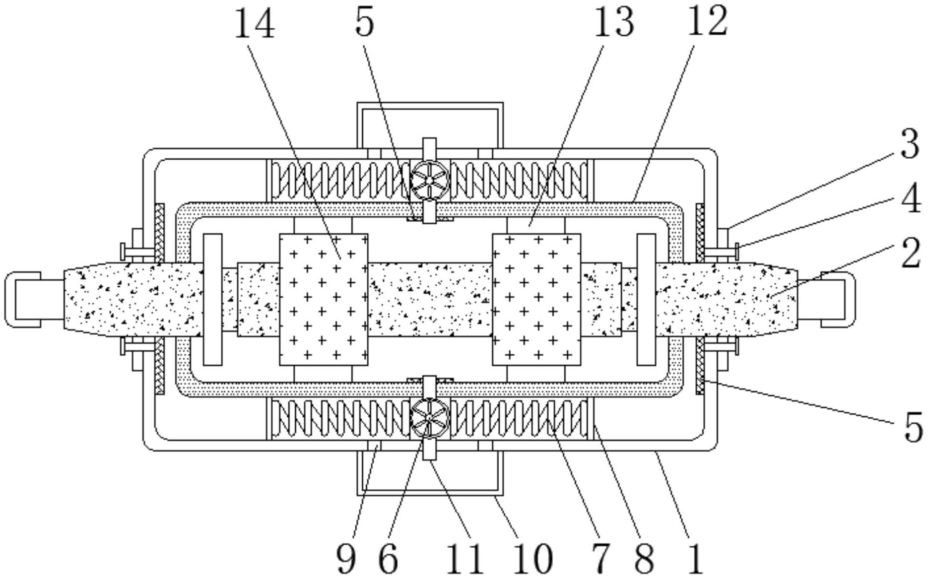
一种数控滚齿机主轴结构
图片尺寸2806x1595