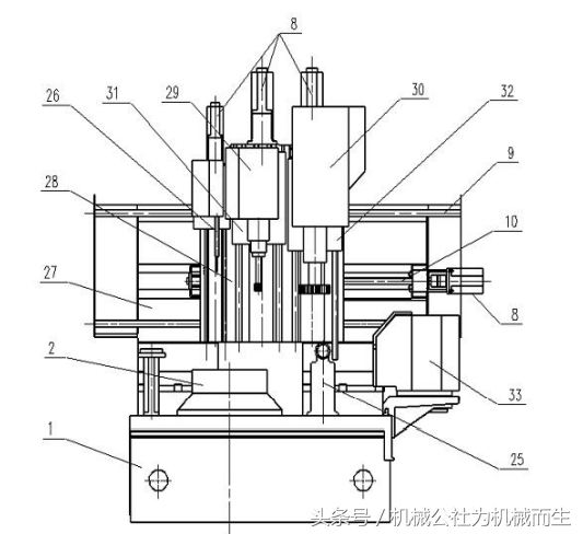
7130磨床磨头详细图解

m7120a平面磨床磨头修复
图片尺寸3120x1638
m7120a平面磨床磨头修复
图片尺寸2728x2000
提供磨床主轴维修,磨头刮瓦维修,修磨床主轴
图片尺寸600x599
m7120a平面磨床磨头产生抱轴的原因及消除方法
图片尺寸1551x1966
磨床m7130 m7132 m7140磨头升降齿条齿轮轴齿轮 杭州南通平面磨床
图片尺寸760x760
一种机床用的磨头的制作方法
图片尺寸443x258
万能外圆磨床结构改进设计--高速磨头无轴电机设计【含cad图纸 pdf图
图片尺寸1200x800
小磨头 水磨 半自动 全自动磨床 型号618 818 250 - 抖音
图片尺寸1080x1440
导轨磨床 磨头部件.dwg缩略图
图片尺寸839x594
cn100556618c_平面磨床磨头进给传动装置有效
图片尺寸2310x1727
一种磨头驱动采用多楔带联接的新型数控外圆磨床结构的制作方法
图片尺寸582x367
立轴圆台磨床多少钱数控高精密立轴圆台复合磨床结构设计
图片尺寸533x488
水泥磨
图片尺寸584x433
大量收货磨床中.收平面磨桂北,杭州,南通,四川产7130,7 - 抖音
图片尺寸1920x1440
天成美加磨头油 小瓶磨床油 平面磨床 7130平面磨床磨头油 10l/箱
图片尺寸800x800
m7130平面磨床电气控制线路
图片尺寸920x690
出售二手杭州m7130hx1米卧轴距台平面磨_二手磨床_爱玖库二手设备商城
图片尺寸1080x1440
m7130a m7132a m7140 供应平面磨床
图片尺寸736x992
定制桂北配件 平面磨床配件 台面操纵箱 m7130 16a00 磨头箱
图片尺寸800x800
7140 7132平面磨床操纵箱配件南通杭州机床厂磨头阀液压箱 7130磨头
图片尺寸800x800