DR构造简易图

dr技术基础
图片尺寸1080x810
高清dr图脊柱dr解剖
图片尺寸640x1138
一种移动式dr
图片尺寸1867x2384
一种便携式dr系统
图片尺寸826x1000
高清dr图脊柱dr解剖
图片尺寸640x1138
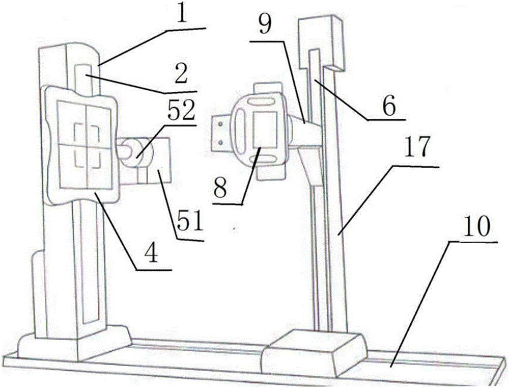
一种双悬吊dr的制作方法
图片尺寸1000x928
dr系统买哪款型号,有什么特点?
图片尺寸573x375
一种双立柱dr的制作方法
图片尺寸1000x951
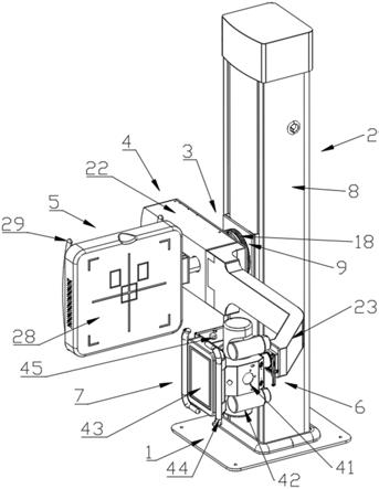
cn109717880a_一种新型双立柱平板dr在审
图片尺寸1000x761
eagledr650双立柱移动平板dr
图片尺寸800x493
医学影像——最全dr体位摆放
图片尺寸1080x1526
西安彩虹医疗器械维修技术培训中心分享:dr维修五例
图片尺寸689x427
医学影像——最全dr体位摆放
图片尺寸1080x1526
脊柱dr影像基础
图片尺寸640x1072
一种移动式dr的制作方法
图片尺寸783x1000
uc臂拍片dr机制造技术
图片尺寸779x1000
「全身x线解剖图」全身x线图谱,dr阅片必备
图片尺寸640x480
宠物dr数字兽用x光机
图片尺寸1175x1241
一种3ddr机的制作方法
图片尺寸343x443
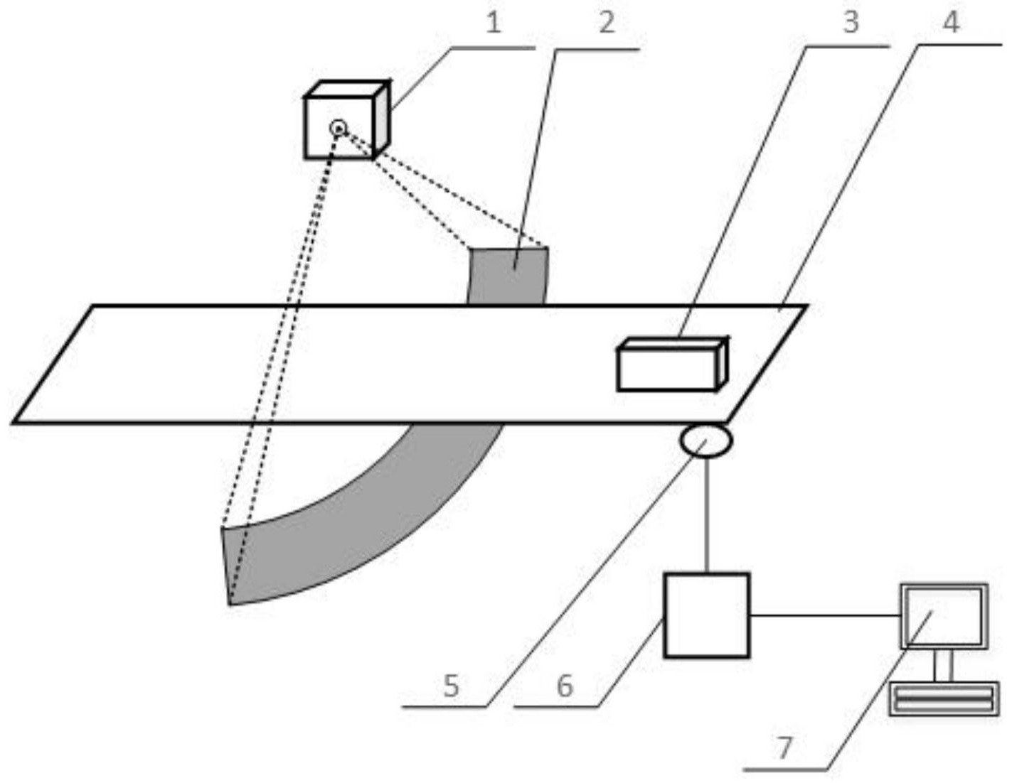
一种dr检测装置及检测方法
图片尺寸1423x1102