LED显示屏结构图

单立柱显示屏钢结构图纸 户外显示屏框架设计#led显示屏 #
图片尺寸1600x1280
赛时达:详解led背光源与背光模组元件,揭秘液晶显示屏背后奥秘!
图片尺寸1270x882
mini led(local dimming技术 )方案分享
图片尺寸1019x720
led显示屏结构图
图片尺寸920x1302
led显示屏结构图感兴趣看看 #led显示屏 #生产厂家直供
图片尺寸1080x1588
oled屏幕和lcd屏幕的区别与优劣
图片尺寸945x599
lcd(液晶屏)结构
图片尺寸1767x1280
赛时达:详解led背光源与背光模组元件,揭秘液晶显示屏背后奥秘!
图片尺寸1392x1020
图片尺寸1608x1138
led液晶显示器
图片尺寸500x375
内部组成led结构
图片尺寸903x1200
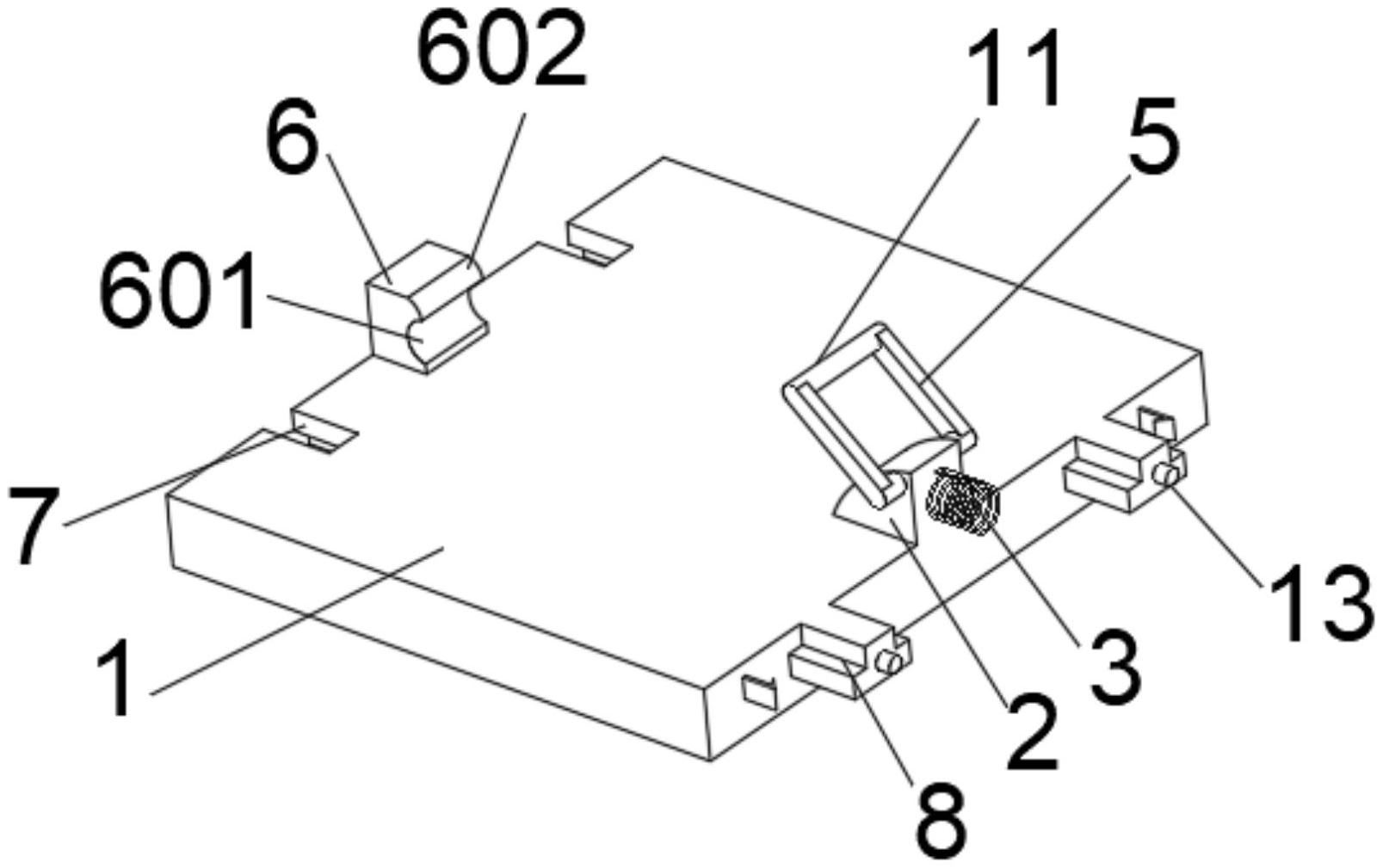
一种单人安装的led显示屏结构
图片尺寸1420x1672
苹果承认iphone15存在烧屏,oled与lcd,谁是显示屏最强吸金竞品?
图片尺寸607x370
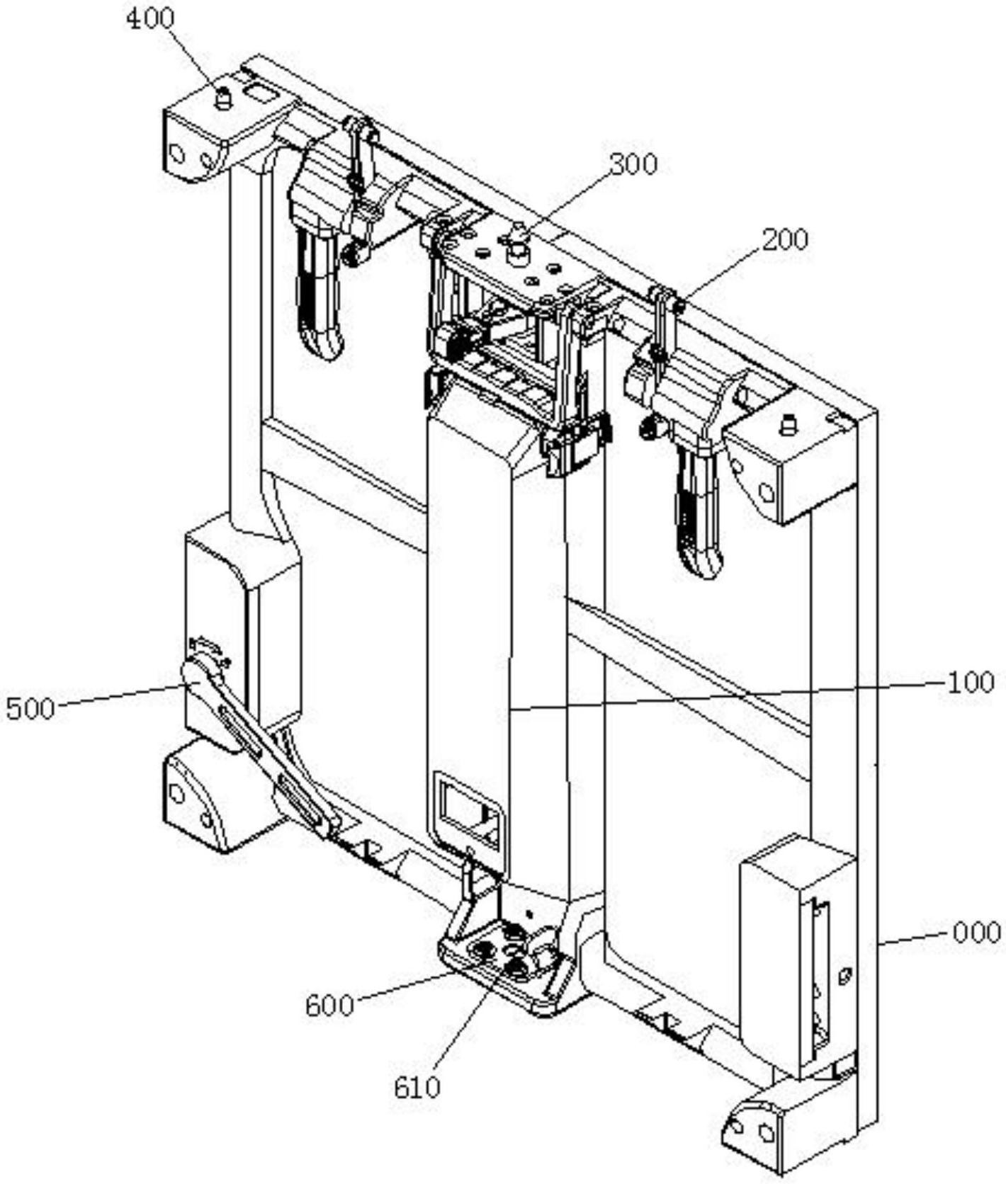
led 显示屏 解决方案
图片尺寸3508x2481
led显示屏基础知识讲义ppt
图片尺寸1080x810
一种led全彩屏系统及其亮度调节方法
图片尺寸1000x890
探索tft-lcd液晶显示屏:技术原理与应用前景
图片尺寸2868x1372
我们一起来了解一下液晶显示器的主要结构吧,方便我们以后维修
图片尺寸640x716
小间距led显示屏
图片尺寸1887x1258
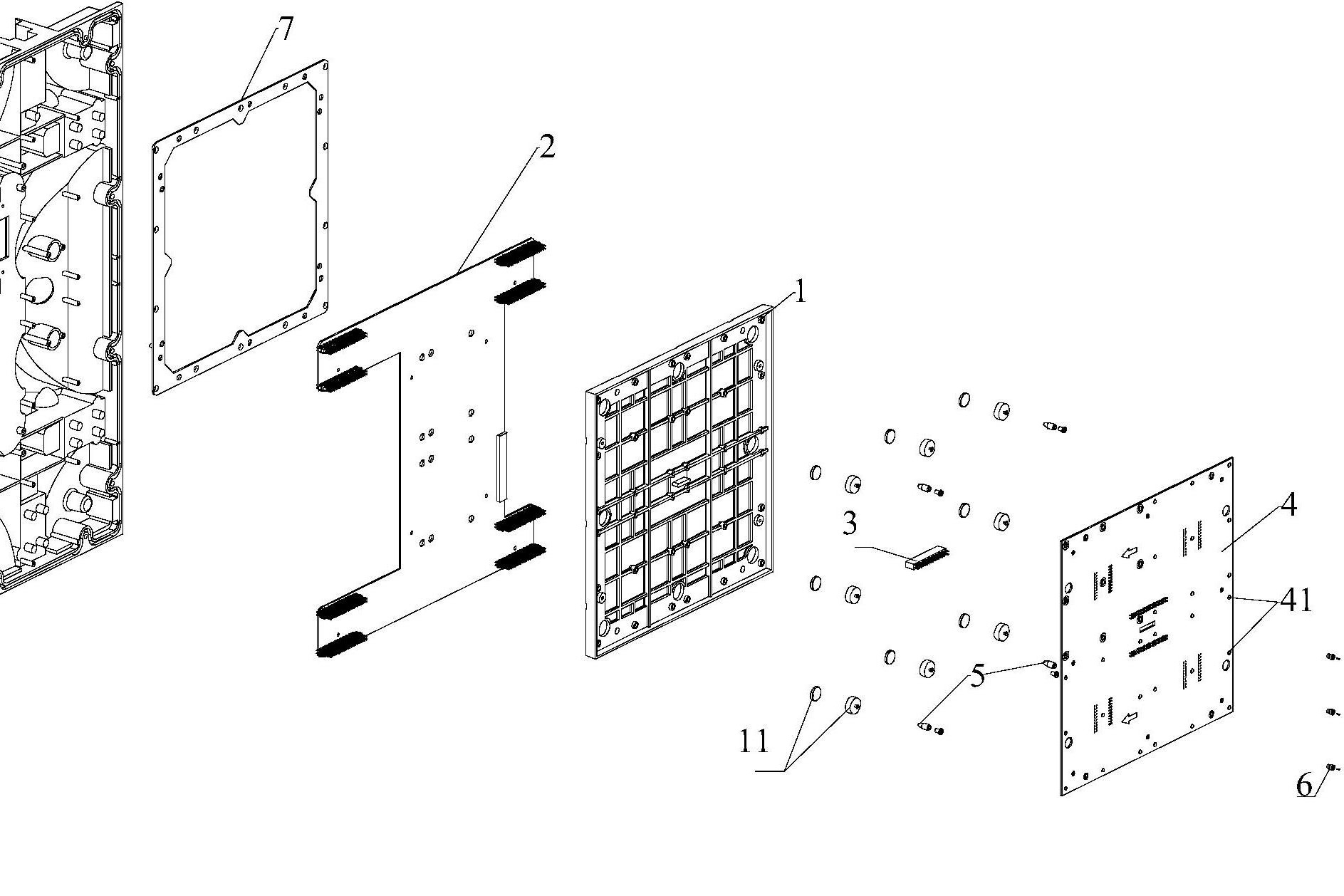
一种led显示屏的拼装结构
图片尺寸1607x1009