actuatortype

pneumatic actuator type eb-syd
图片尺寸800x551
electric actuator type ea31
图片尺寸560x400
electric actuator type ea21
图片尺寸381x381
s-1010a datasheet - specifications: actuator type: rotary for
图片尺寸640x640
s-2050 datasheet - specifications: actuator type: rotary for
图片尺寸640x640
s-2150 datasheet - specifications: actuator type: rotary with
图片尺寸640x640
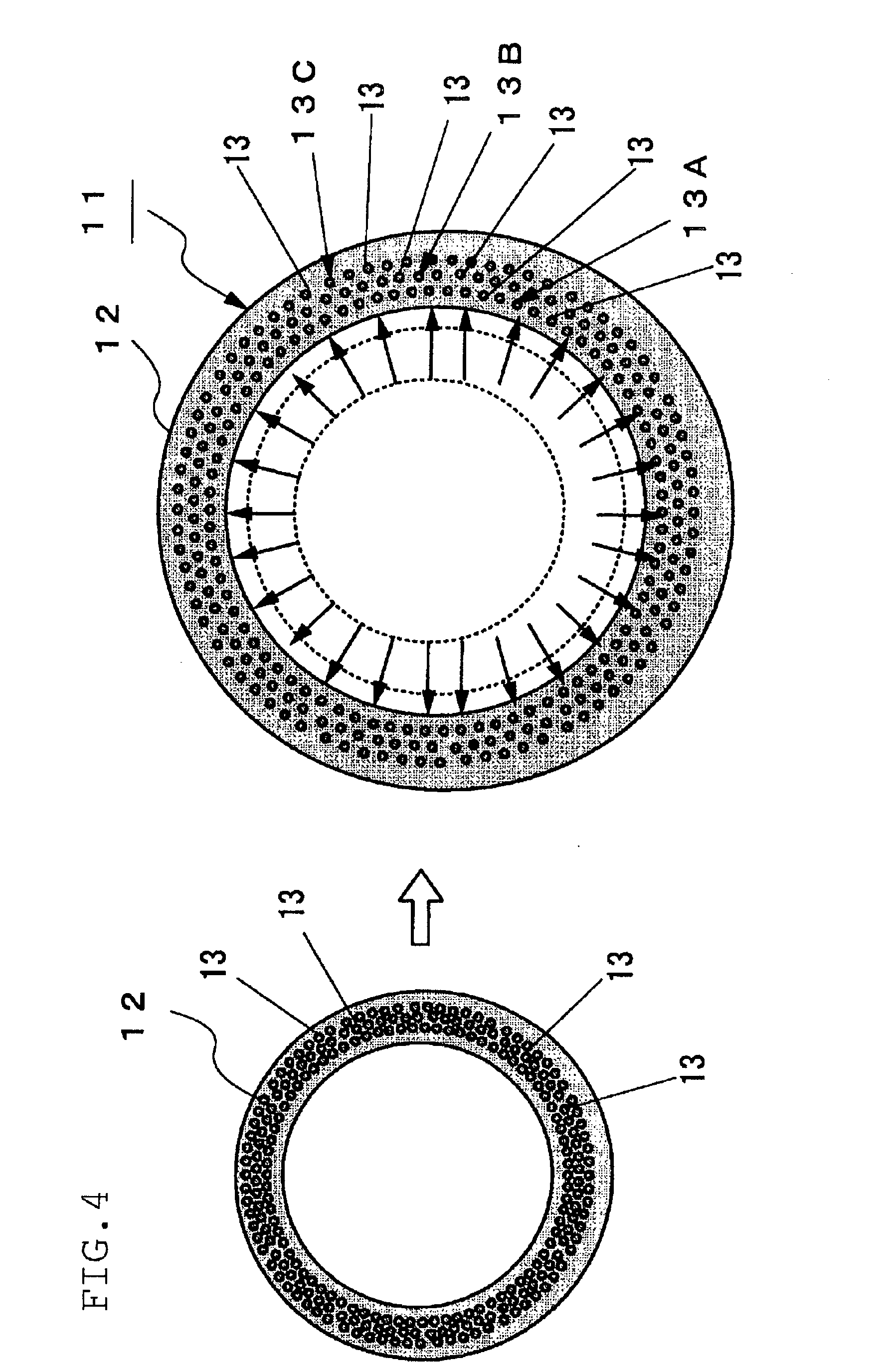
performance of a novel latching-type electromagnetic actuator
图片尺寸548x407
pneumatic actuator type pa11/pa21
图片尺寸560x400
datasheet - specifications: mounting type: din rail ; actuator
图片尺寸640x640
strong magnetic thrust force type actuator
图片尺寸2042x2646
pt65326 datasheet - specifications: actuator type: rotary with
图片尺寸640x640
ulli actuator male type_products_shenzhen ico-tec co., ltd
图片尺寸951x748
bpa04k
图片尺寸1200x1200
ltd_ulli actuator male type_explosion-proof type actuator
图片尺寸902x653
actuator type photo sensor
图片尺寸550x550
model 4643 linear actuator / electric / for bed adjustment 18
图片尺寸1251x1500
screw type actuator
图片尺寸1500x800
s-2151 datasheet - specifications: actuator type: rotary with
图片尺寸640x640
fluid pouring type actuator
图片尺寸1783x2752
asp regulating type actuator electric motor
图片尺寸480x392