ats柜原理图

柴油发电机ats接线图.png
图片尺寸600x375
设备控制器ats电气控制祥图
图片尺寸610x861
市发电ats转换系统电路图-柴油发电机组.png
图片尺寸800x500
cn113189954a_一种中压ats控制器的测试工装及测试方法
图片尺寸2697x1914
市电与柴油发电机组ats转换系统(并联).png
图片尺寸600x375
站用电系统原理ats自动转换开关培训
图片尺寸738x910
一种旁路ats供电系统的制作方法
图片尺寸407x443
柴油发电机ats转换柜功能.png
图片尺寸600x375
pt柜和计量柜有什么区别?
图片尺寸712x411
一种智能低压配电柜
图片尺寸1705x1718
但380v支路故障引起站用变高压开关st1跳闸,380v备自投1ats动作后投至
图片尺寸640x554
发电机组ats接线图及说明
图片尺寸815x445
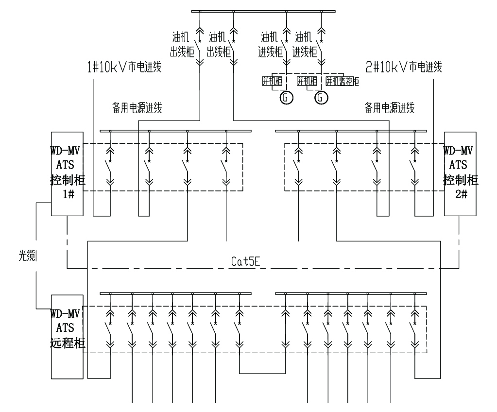
中压双电源切换解决方案wd-mv ats
图片尺寸1023x848
三川智控 双电源ups/ats高性能电力保障装置
图片尺寸1080x759
它包括输入配电柜,ups及输出配电柜,所述配电柜包括有atse电器,atse
图片尺寸1150x1858
一种具有消谐装置的高压pt柜
图片尺寸1955x2704
柴油发电机组ats双电源开关工作原理
图片尺寸1444x1031
ats电气控制原理图纸
图片尺寸610x458
简介:本图纸为35kv变电站低压ats双电源切换柜原理图,主要包含柜面
图片尺寸610x432
1.png
图片尺寸1178x640