bpsk调制解调框图

调制解调器
图片尺寸1008x733
bpsk和qpsk调制解调原理及matlab程序
图片尺寸920x1301
bpsk调制原理
图片尺寸421x296
二相bpsk (dpsk)调制解调技术
图片尺寸521x259
基于fpga的msk调制解调系统系统开发与硬件片内测试,包含
图片尺寸1400x1335
图3 qpsk调制器框图 并变换器将输入的二进制数据序列依 次分为两个
图片尺寸953x364
调制解调技术
图片尺寸395x199
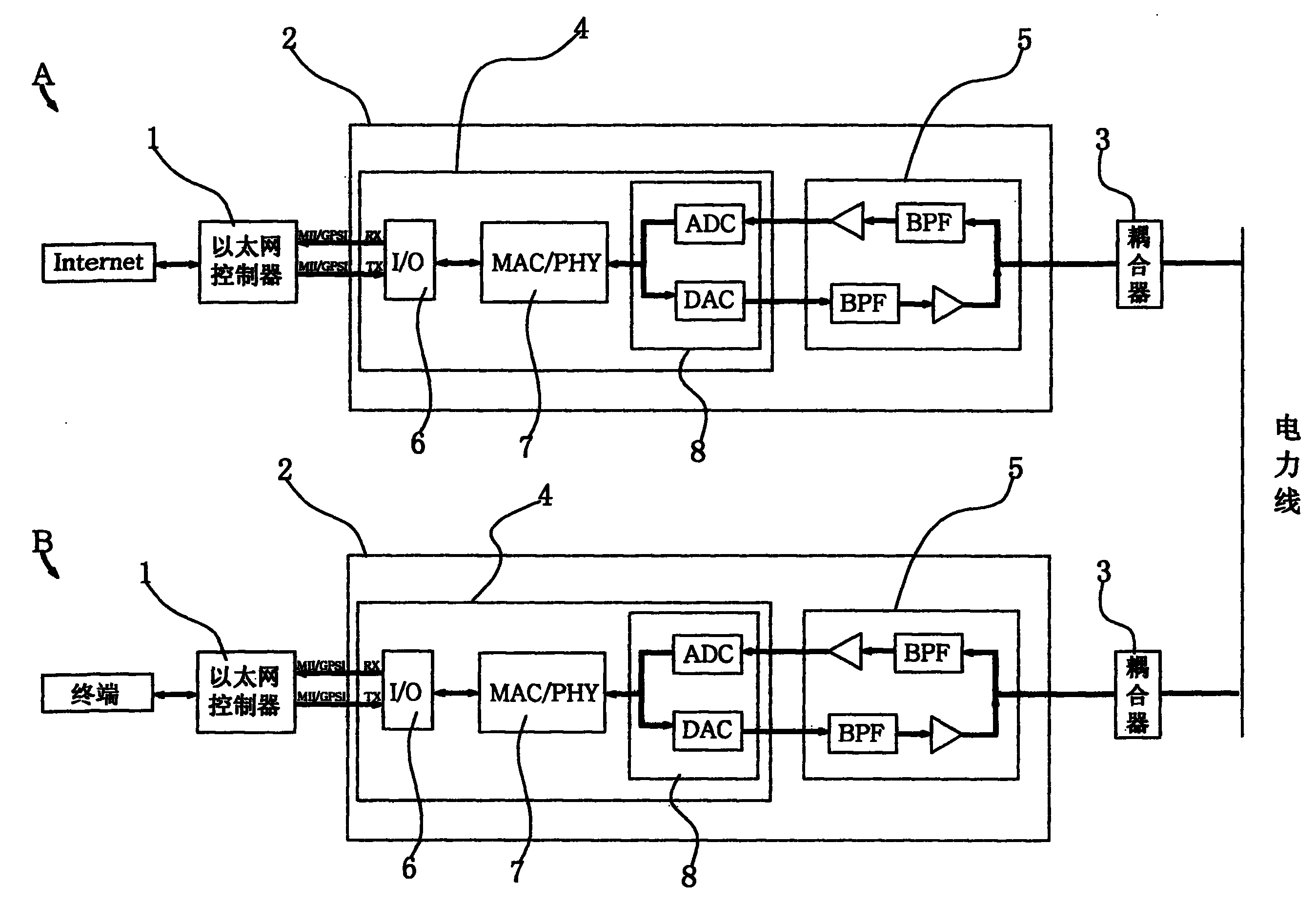
image:modem设备的组成原理框图.jpg
图片尺寸618x327
一种gmsk信号相干解调装置
图片尺寸1777x776
bpsk调制解调全过程
图片尺寸352x712
调制解调器,是调制器和解调器的缩写 ,一种<
图片尺寸360x365
手把手教你玩转ad9361数字调制解调系列
图片尺寸564x347
qpsk调制与解调原理
图片尺寸625x375
在四线租用电话型电路上使用的标准化2400比特/秒调制解调器
图片尺寸2697x1856
qpsk系统的调制和解调
图片尺寸4150x1988
调制解调器
图片尺寸1200x461
bpsk解调门限离香农限差多少?
图片尺寸1850x499
qpsk调制研究(simulink仿真实现)
图片尺寸2159x1087
bp算法流程
图片尺寸700x948
:bpsk调制解调器仿真
图片尺寸4032x2604