ck9561实物接线

kd9561 ck9561 四声报警声芯片 音乐ic 音乐集成块
图片尺寸428x427
kd9561 ck9561 四声报警声芯片 音乐ic 音乐集成块 电子diy小制作
图片尺寸700x501
供应报警ic ck9561四声报警ic
图片尺寸540x563
kd9561的封装是什么样的
图片尺寸387x600
kd9561四声报警音乐片 ck9561 9561 电子音乐芯片 4声报警 音乐ic
图片尺寸800x800
音乐芯片 ck9561
图片尺寸893x457
音乐芯片接法.doc
图片尺寸792x1120
音乐芯片9561
图片尺寸655x1025
kd9561引脚图
图片尺寸500x528
kd9561 pdf资料 带封装信息
图片尺寸450x585
将牌幻影忍者兼容乐高njo391 凯 9561 9449 9441拼装玩具人仔积木
图片尺寸800x800
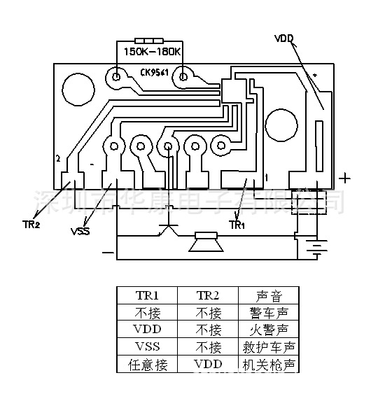
模拟声响kd9561四音模拟声电路
图片尺寸423x344
音乐芯片接线图9561_接线图分享,厂家批发cl9561
图片尺寸1334x1737
74810爱马仕英国法国官网上新
图片尺寸1080x1080
音乐集成块 ck9561 四声报警声芯片 音乐ic kd9561 5个 - 爱购网
图片尺寸310x310
74513爱马仕中国官网限时店
图片尺寸1080x1078
451人付款淘宝kd9561 ck9561 9561四声报警声芯片 音乐ic 音乐集成块
图片尺寸300x300
kd9561 ck9561 四声报警声芯片 音乐ic 音乐集成块
图片尺寸800x800
kd9561 ck9561芯片音乐集成块
图片尺寸300x300
音乐集成块 ck9561 四声报警声芯片 音乐ic kd9561 5个 - 爱购网
图片尺寸310x310