cos道具图纸

cos道具约会大作战 五河琴里武器灼烂歼鬼
图片尺寸580x232
【道具展示】剑三唐门千机匣_看图_cos道具吧_百度贴吧
图片尺寸561x397
【资料】剑网三武器-紫霞1:1图纸(比例图纸什么的最烦了)_cos道具吧
图片尺寸580x436
高度仿真era迷你m4下机匣模型开瓶器
图片尺寸640x849
sustained duration non-aerosol mechanical sprayer ha
图片尺寸1731x3004
可穿戴头盔摆件全身盔甲手工eva模型道具cos服装豪华diy模型工厂39
图片尺寸300x230
侍战队 online-spin sword 旋转剑 cos道具武器 cosplay纸模型注意:.
图片尺寸776x451
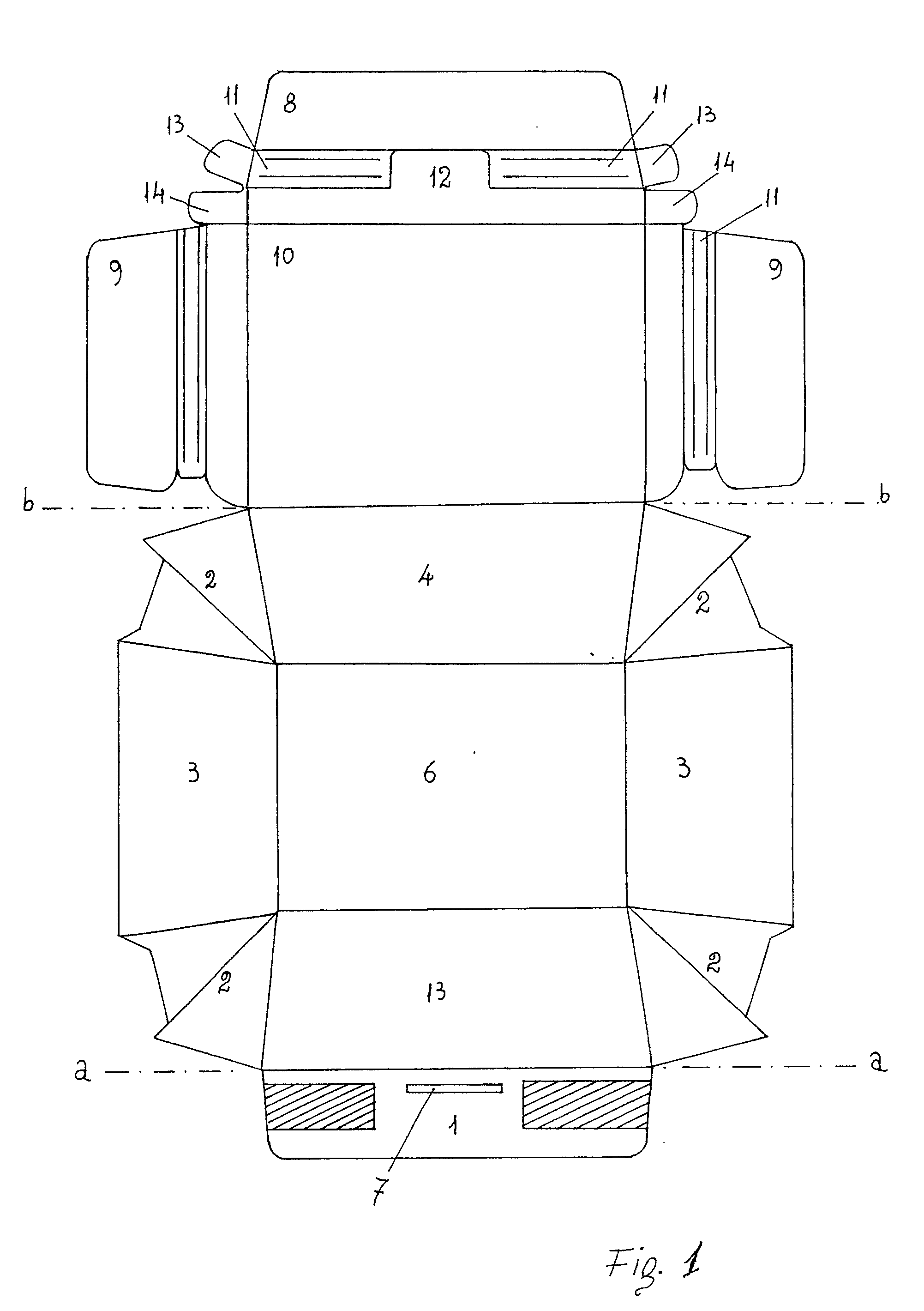
récipient étanche en carton avec couvercle artic
图片尺寸2002x2839
5 metal pull head clothing shoes boots zipper
图片尺寸853x636
za模型死亡毒蝎放大细节增强版
图片尺寸1400x987
哪位有正品蜘蛛折刀的详细尺寸图呀 想自己diy一个
图片尺寸1024x684
cn2202406y_自救头盔失效
图片尺寸1632x1718
box-type two-stroke internal combustion engine for
图片尺寸2004x2966
第五人格cos道具制作
图片尺寸1080x1439
cn2200473y_具有弓箭和十字弓等多功能变化的玩具失效
图片尺寸800x1030
za模型死亡毒蝎放大细节增强版
图片尺寸1400x993
ak47模型图纸
图片尺寸3310x2340
关注 纸模 图纸 手工 评论 收藏
图片尺寸700x1038
clamping tool
图片尺寸1547x1146
us4982973(a)_front fender for front-forked vehicles未知
图片尺寸1472x912