effacement

预订 effacement
图片尺寸333x499
effacement是什么意思
图片尺寸220x229
file:ratp sacem effacement.jpg
图片尺寸366x479
the locus of enterocyte effacement and associated virulence
图片尺寸816x1056
【预订】leffacement des dettes: une urgence
图片尺寸267x400
effacement dimage des parties hors dun document
图片尺寸1952x1837
cervical dilatation/effacement model
图片尺寸1000x667
effacement
图片尺寸300x300
医学笔记医学专业英文术语生产宝宝小儿
图片尺寸1080x1080
image : effacement des mots de passe oubliés
图片尺寸1050x884
effacement dimage des parties hors dun document
图片尺寸1952x2471
effacement dobjets sauvés dans une mémoire dun dispositif
图片尺寸1680x2378
effacement dimage des parties hors dun document
图片尺寸1952x2538
载体-在分娩过程中宫颈脱落和扩张
图片尺寸1200x397
effacement des données enregistrées sur un support de stockage
图片尺寸1831x2752
effacement dobjets sauvés dans une mémoire dun dispositif
图片尺寸1808x2748
image : effacement des paramètres cmos
图片尺寸1284x513
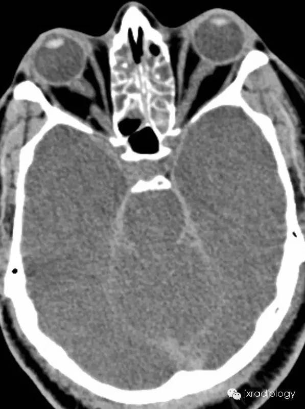
density, loss of gray-white matter differentiation, effacement
图片尺寸597x800
image : effacement des paramètres cmos
图片尺寸1200x942
procédé deffacement dimages et appareil deffacement d
图片尺寸1748x2728