enterprise支架示意图

管生教授:enterprise支架临床应用现状 - 脑医汇 - 神外资讯 - 神介
图片尺寸960x720
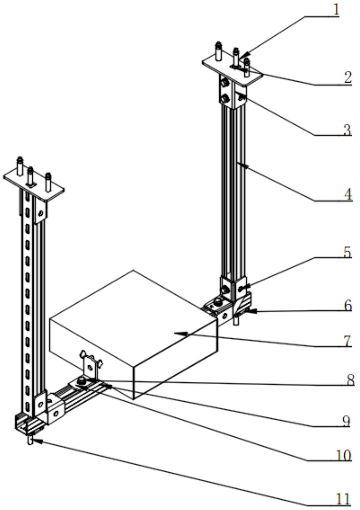
一种显示器支架
图片尺寸983x1000
enterprise 1 ↑德国一项研究应用enterprise支架治疗209例icas
图片尺寸660x448
李志清教授:enterprise支架在脑血管病的应用 - 脑医汇 - 神外资讯
图片尺寸1280x960
cn113153404a_一种数字化液压支架及其控制方法
图片尺寸1998x1887
一种新型的手机支架
图片尺寸1767x2379
支架3d示意图
图片尺寸649x784
【强生医疗cnv-神经介入专栏】| 管生教授:enterprise支架临床应用
图片尺寸960x720
一种便携式临时支架-爱企查
图片尺寸990x1075
一种手机支架-爱企查
图片尺寸323x314
商标logo
图片尺寸1253x1774
2024年高性价比电脑显示器支架/支架臂推荐,显示器支架机械好还是气弹
图片尺寸830x911
一种手机支架-爱企查
图片尺寸1504x1531
一种空调支架的制作方法
图片尺寸1702x1648
一种可卸式单侧支模三角辅助支架
图片尺寸548x799
一种卡扣式快拆独立支架-爱企查
图片尺寸980x1626
【强生医疗cnv-神经介入专栏】| 李志清教授:enterprise支架在脑血管
图片尺寸640x480
一种方便伸缩长短的笔记本支架-爱企查
图片尺寸800x580
联想平板支架微软三星小米步步高读书郎台电懒人支架oppo华为手机金属
图片尺寸750x725
一种手机机械支架的制作方法
图片尺寸534x383