fluid

魅可mac粉底液|studio fix fluid spf 15 foundation
图片尺寸900x1024
fluid coupling system
图片尺寸2746x3917
computational fluid dynamics
图片尺寸400x257
【预售】fluid meters
图片尺寸406x520
fluid flow measurement.a practical guide to accurate flow
图片尺寸405x500
flow 100 fluid abstract paintings 163133405
图片尺寸819x1024
modelingfluidstructureinteractioninaheartvalve
图片尺寸1000x681
福斯加适达cassida fluid gl/gle 150 220 320 食品级齿轮油22l升
图片尺寸1000x1000
mg209xd0pt00000原装福力德fluid-o-tech磁力泵m42x30/i mgcf26s
图片尺寸1080x1080
qin jun jie and yuan bing yan fight fluidly in the rain for
图片尺寸618x348
【预售】fluid volume monitoring with glucose dilution
图片尺寸532x800
英文原版 vectors tensors and the basic equations of fluid
图片尺寸800x800
16mn 20# 45# rectangular steel tube for pressure fluid and gas
图片尺寸600x396
【预售】fluid flow measurement: a practical guide to accu
图片尺寸425x520
car brake fluid tester 5led check fluid quality indicator d
图片尺寸800x800
【预售】fluid rock interactions during metamorphism
图片尺寸534x800
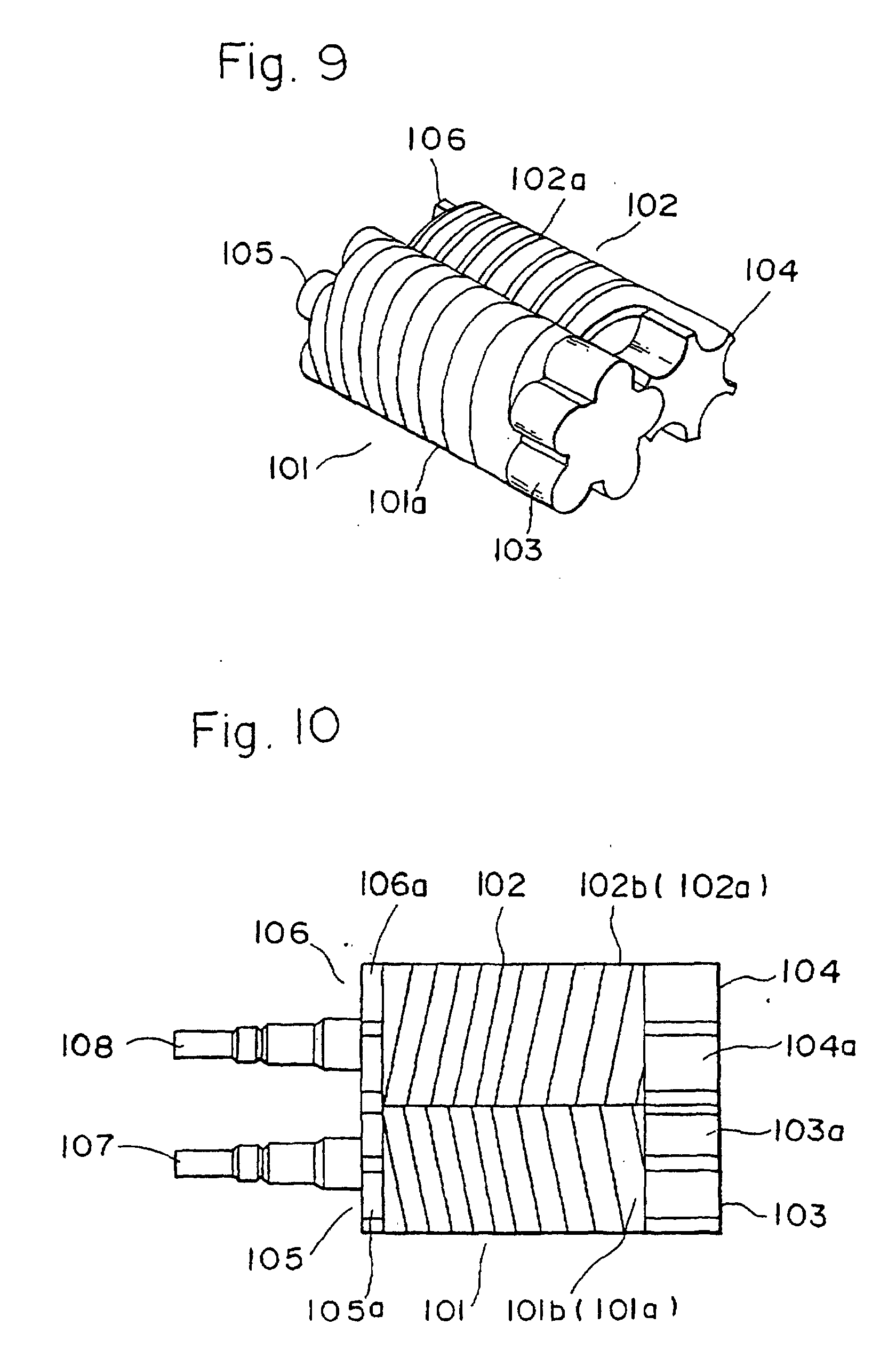
screw fluid machine and screw gear used in the same
图片尺寸1680x2543
【预售 按需印刷】elementary fluid dynamics
图片尺寸880x1360
fluid viscose 阔腿长裤
图片尺寸953x1440![sbf模拟体液无菌实验simulatedbodyfluid[ph1819phygene] 500ml](https://i.ecywang.com/upload/0/t13.baidu.com/it/u=602287932,135886602&fm=224&app=112&f=JPEG?w=500&h=500)
sbf模拟体液无菌实验simulatedbodyfluid[ph1819phygene] 500ml
图片尺寸800x800