fuse blown

fuse blown | flickr – 相片分享!
图片尺寸506x640
fuse blown | flickr – 相片分享!
图片尺寸500x333
blown fuse
图片尺寸300x300
fuseblown
图片尺寸300x300
43blown fuse
图片尺寸240x240
1808 fuse pipe 0451 blown fuse fast broken 1a 2a 3a 4a 5a 6.
图片尺寸750x750
combined optical and acoustical blown fuse indicator
图片尺寸2320x3408
blown a fuse
图片尺寸300x300
fusejun的相册:默认分类
图片尺寸1200x1200
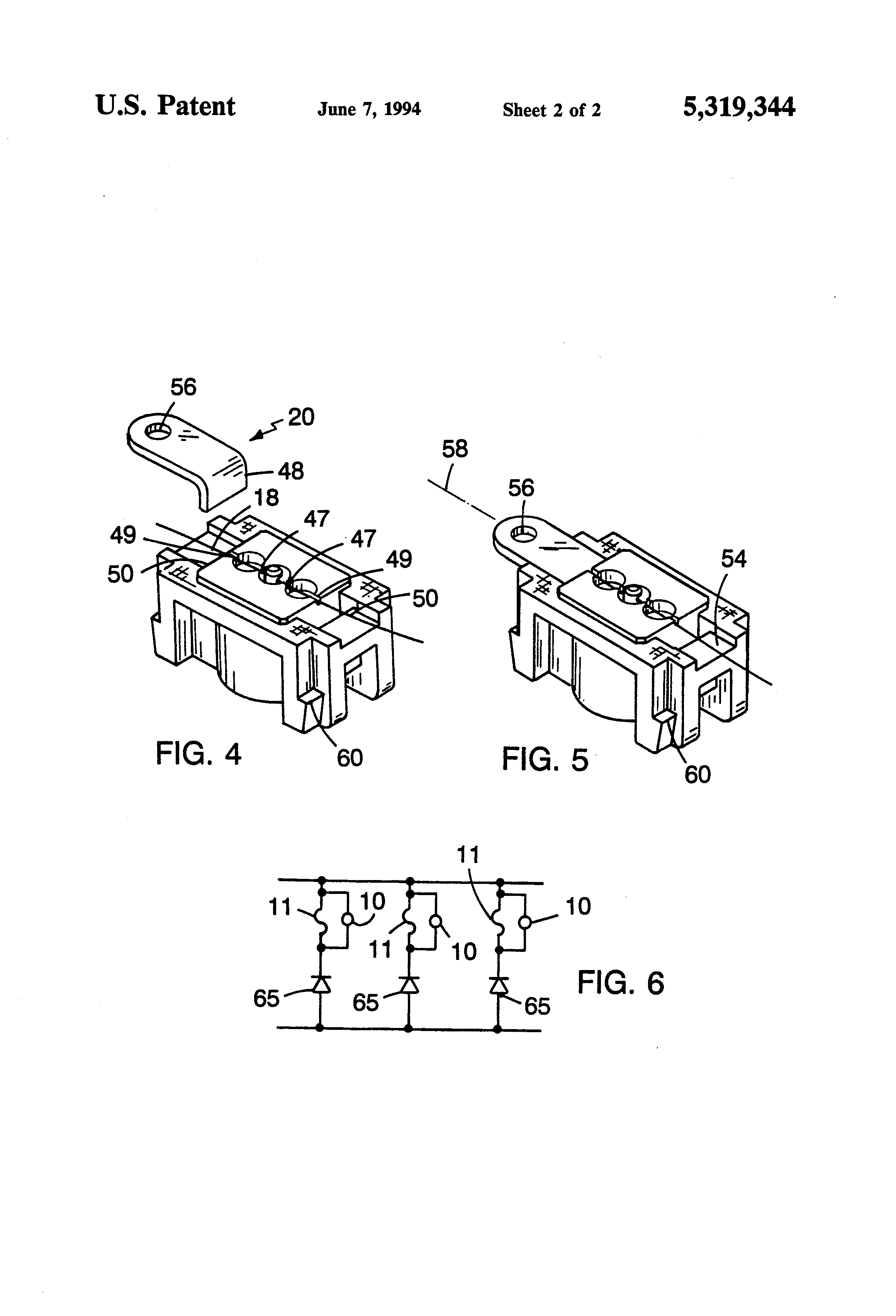
blown fuse indicating and/or striking assembly and current
图片尺寸1873x2509
接线端子块 - 带保险丝
图片尺寸2000x1482
hand blown art glass table platter plate fused glass
图片尺寸640x640
externally mounted blown fuse indicator
图片尺寸2320x3408
semiconductor device with fuse to be blown with energy beam and
图片尺寸1653x2846
dfuse气质乐福鞋镶钻金属装饰扣点点
图片尺寸800x800
metal machines
图片尺寸500x500
refuse拒绝fusefuse不开心to be unhap - 抖音
图片尺寸1080x1920
d:fuse/迪芙斯婚鞋女商场同款扣饰新娘鞋尖头高跟单鞋df74111006
图片尺寸1500x1500
miniature fuse with blown indication (apf.l-190)
图片尺寸600x400
emmanuel babled fuses hand-blown glass and carrara marble with
图片尺寸658x438