gn太阳炉原理

图5 太阳灶工作原理示意图双曲线的光学性质展品由展台,2条双曲线挡板
图片尺寸1181x879
href="/item/太阳炉/9788784" data-lemmaid="9788784">太阳炉 /a>(gn
图片尺寸659x771
p data-id="gnwo15ntyv">太阳炉,是太阳能加热炉的简称,温度可达到
图片尺寸632x507
【研究笔记】gn炉沿革浅析
图片尺寸489x522
rg系列通贩全介绍rg系列喷涂制作心得分享
图片尺寸400x275
灶结构类型与工作原理太阳灶的设计太阳灶的材料太阳灶的使用和维护5
图片尺寸780x591
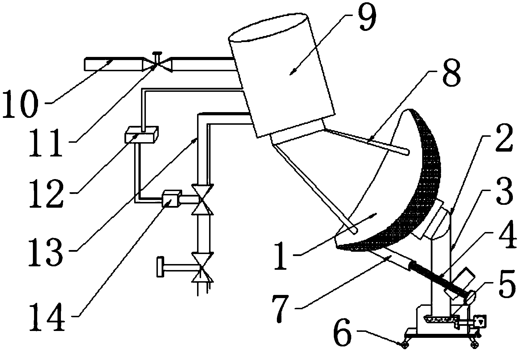
一种太阳能灶
图片尺寸1818x1227
href="/item/太阳炉/9788784" data-lemmaid="9788784">太阳炉 /a>(gn
图片尺寸146x244
高达00 gnx.高达00中联邦拿到伪太阳炉后的量产机.模型 - 抖音
图片尺寸1446x1920
一种新型壁挂炉太阳能一体化采暖系统
图片尺寸1667x999
高达00gn太阳炉评测这个pgooraiser太阳炉gndrive的设计有点酷你们玩
图片尺寸976x610
太阳能热水 - 无锡立源节能科技有限公司
图片尺寸552x481
href="/item/太阳炉/9788784" data-lemmaid="9788784">太阳炉 /a>(gn
图片尺寸1108x635
太阳能供暖-四川蜀旺新能源股份有限公司
图片尺寸600x450
什么是太阳能炉?
图片尺寸1080x602
包括太阳炉与外甲,喷口等,看起来还是相当帅气了
图片尺寸1380x1276
安装的时候,要注意以下太阳炉的方向
图片尺寸324x288
蓄热式燃烧加热炉
图片尺寸1080x810
【高达】mg exia太阳炉联动机构&灯效展示_哔哩哔哩_bilibili
图片尺寸1920x1080
太阳能热水器
图片尺寸640x568