hinge cap

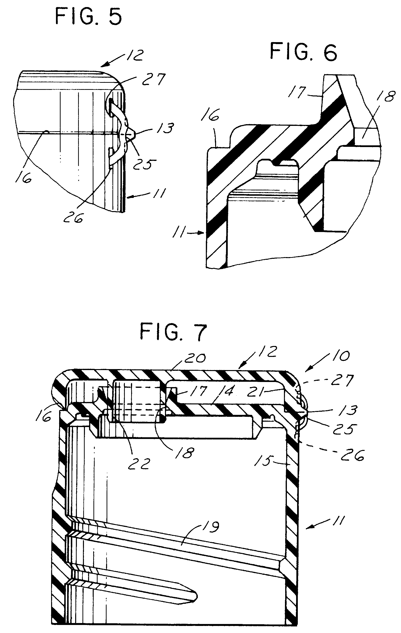
snap-in floating hinge cap for portable computer
图片尺寸2229x2594
snap-in floating hinge cap for portable computer
图片尺寸1842x2641
stainless steel nautical hinge | mpa technical devices
图片尺寸1000x803
us military alice canteen cap hinge strap retention loop lanyard
图片尺寸400x300
snap-in floating hinge cap for portable computer
图片尺寸1879x2749
duty stainless marine bimini top connecting slide cap hinge
图片尺寸720x720
nyloncapwithhingesuppliers
图片尺寸412x365
china snap hinge cap
图片尺寸547x595
closure with snap-type hinge cap
图片尺寸1648x2600
lift up hinge – accessories lh end cap
图片尺寸992x992
a03 clip-on hydraulic damping hinge
图片尺寸465x465
5 mm lift-off crown cap iron door hinge with 1 ball bearing
图片尺寸273x300
cap 25mm top fitting hardware pipe canopy marine boat hinge
图片尺寸800x800
hinge, nexis, accessories | w05rth
图片尺寸348x343
flip top hinge-source quality flip top hinge from global flip
图片尺寸586x599
hinge cap
图片尺寸1642x2161
hinge cap
图片尺寸1610x1434
overlay cabinet hinges
图片尺寸1000x642
2pcs top fix wc toilet seat hinges fittings quick release hinge
图片尺寸1010x1010
beats by dr dre solo replacement end cap hinge bezel repair
图片尺寸400x300