htc2050数控车床结构图

数控车床结构ppt文档资料
图片尺寸920x690
数控车床的组成,加工原理以及与普通车床的区别
图片尺寸619x357
沈阳2050数控车床.名牌:沈阳htc2050数控车 卡盘: - 抖音
图片尺寸1440x1080
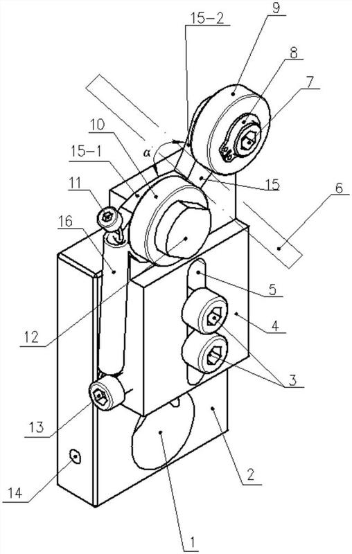
低速重载型数控车床主轴单元结构设计
图片尺寸918x702
数控车床的程序编制(1)ppt
图片尺寸1080x810
典型数控车床的装配工艺
图片尺寸1014x719
津上m08jl5数控车床
图片尺寸1440x1080
沈阳htc50250t数控车床
图片尺寸1440x1080
沈阳htc2050n数控车床外型
图片尺寸820x498
桌面数控小车床
图片尺寸820x565
淮安盐城二手铣床回收二手冲床液压机回收数控车床回收
图片尺寸448x252
华强精密ck6140数控车床 数控铣床 立加光机
图片尺寸288x309
沈阳机床htc2050数控车床排屑机定做厂家
图片尺寸960x720
1559204247views:0key words:沈阳机床,htc50系列,全功能数控车床
图片尺寸500x500
数控车床回收
图片尺寸500x375
白色pom板乙缩醛板聚甲醛赛钢蓝色尼龙abspeek棒cnc数控车床加工
图片尺寸800x800
沈阳htc2050n数控车床外型
图片尺寸820x677
htc3650数控车床细长轴加工治具-爱企查
图片尺寸508x800
代理沈阳数控车床htc2050斜床身数控车床车削中心沈阳车床价格
图片尺寸466x346
二手沈阳一机htc2050i斜导轨数控车床
图片尺寸1080x1440