hypoglossal

hypoglossal nerve (cn ?
图片尺寸434x500
舌下神经hypoglossal nerve主要由躯体运动纤维组成.支配舌肌运动.
图片尺寸450x562
10. 舌下神经管 hypoglossal canal
图片尺寸1104x687
on the peculiar morphology and development of the hypoglossal
图片尺寸472x708![hypoglossal nerve [xii] - illustrations : tongue, lingual](https://i.ecywang.com/upload/1/img1.baidu.com/it/u=2847446392,1795071112&fm=253&fmt=auto&app=138&f=JPEG?w=1170&h=500)
hypoglossal nerve [xii] - illustrations : tongue, lingual
图片尺寸1250x534
hypoglossal nerve—舌下神经accessory nerve—副神经vagus nerve
图片尺寸424x505
the skull
图片尺寸800x548
hypoglossal-nerve palsy
图片尺寸436x600
hypoglossal nerve, cervical plexus, and their branches.
图片尺寸250x274
transporters in individual hypoglossal motor neurons of endstage
图片尺寸851x1062
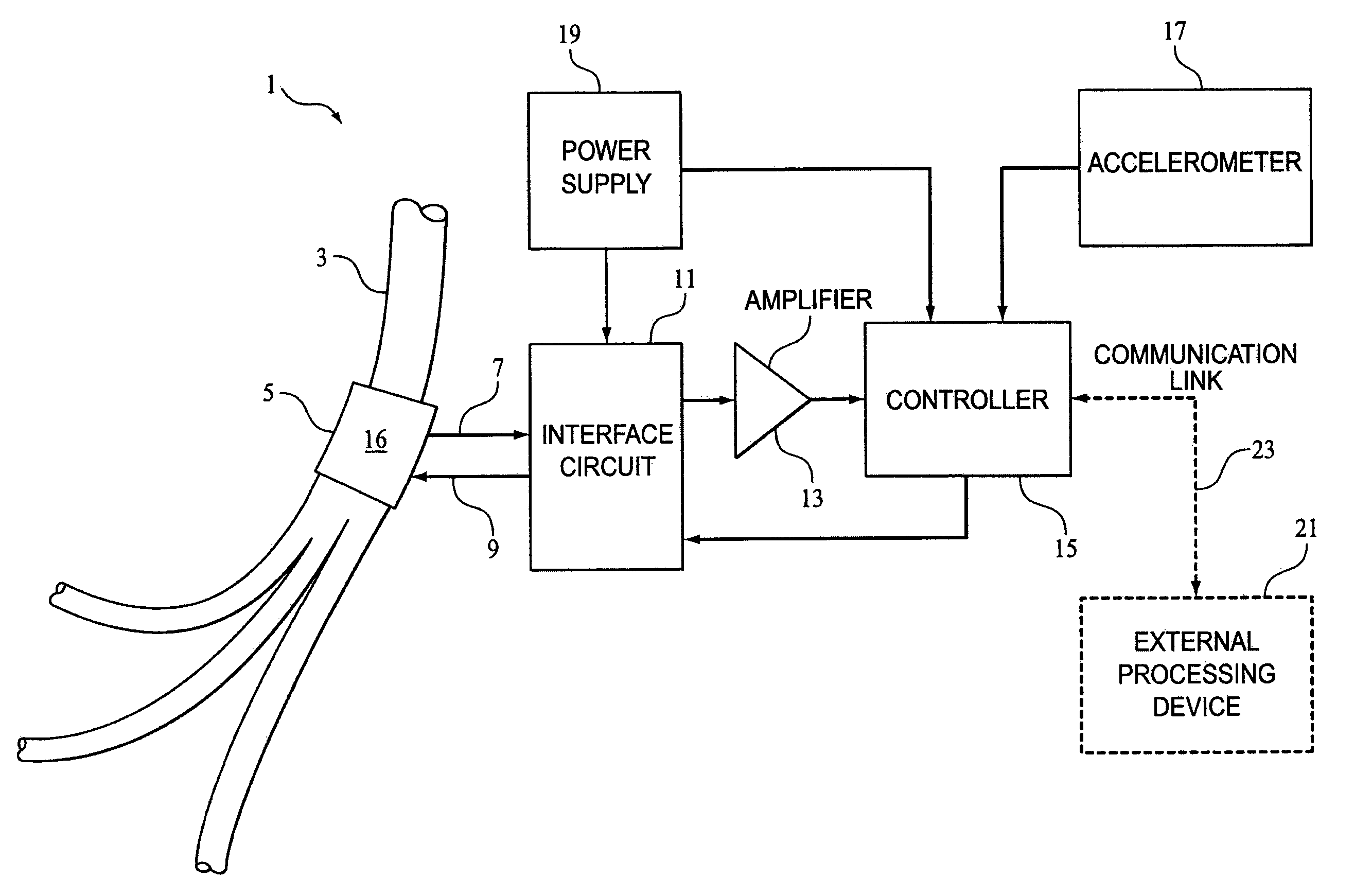
system for stimulating a hypoglossal nerve for controlling the
图片尺寸1907x2806
on the peculiar morphology and development of the hypoglossal
图片尺寸472x496
神经解剖学总论ppt
图片尺寸1080x810
on the peculiar morphology and development of the hypoglossal
图片尺寸567x324
医药卫生 十二对脑神经ppt 十二对脑神经 Ⅻ 舌下神经 hypoglossal n
图片尺寸1080x810
method and apparatus for hypoglossal nerve stimulation
图片尺寸1468x1333
runs with the hypoglossal nerve infero
图片尺寸380x263
method and apparatus for hypoglossal nerve stimulation
图片尺寸1368x1997
method and apparatus for hypoglossal nerve stimulation
图片尺寸2631x1741
h&n 02-22 cn9-12
图片尺寸500x407