ic反应器图纸

cn212450824u_一种节能自动化peic厌氧反应器有效
图片尺寸2017x1883
ic 反应器
图片尺寸600x924
ic厌氧反应器分阶段反应系统的制作方法
图片尺寸535x1000
直径6m ic厌氧反应器加工图- 环保图纸 - 沐风网
图片尺寸677x506
ic厌氧反应器的研究与应用进展_葛玫
图片尺寸980x1062
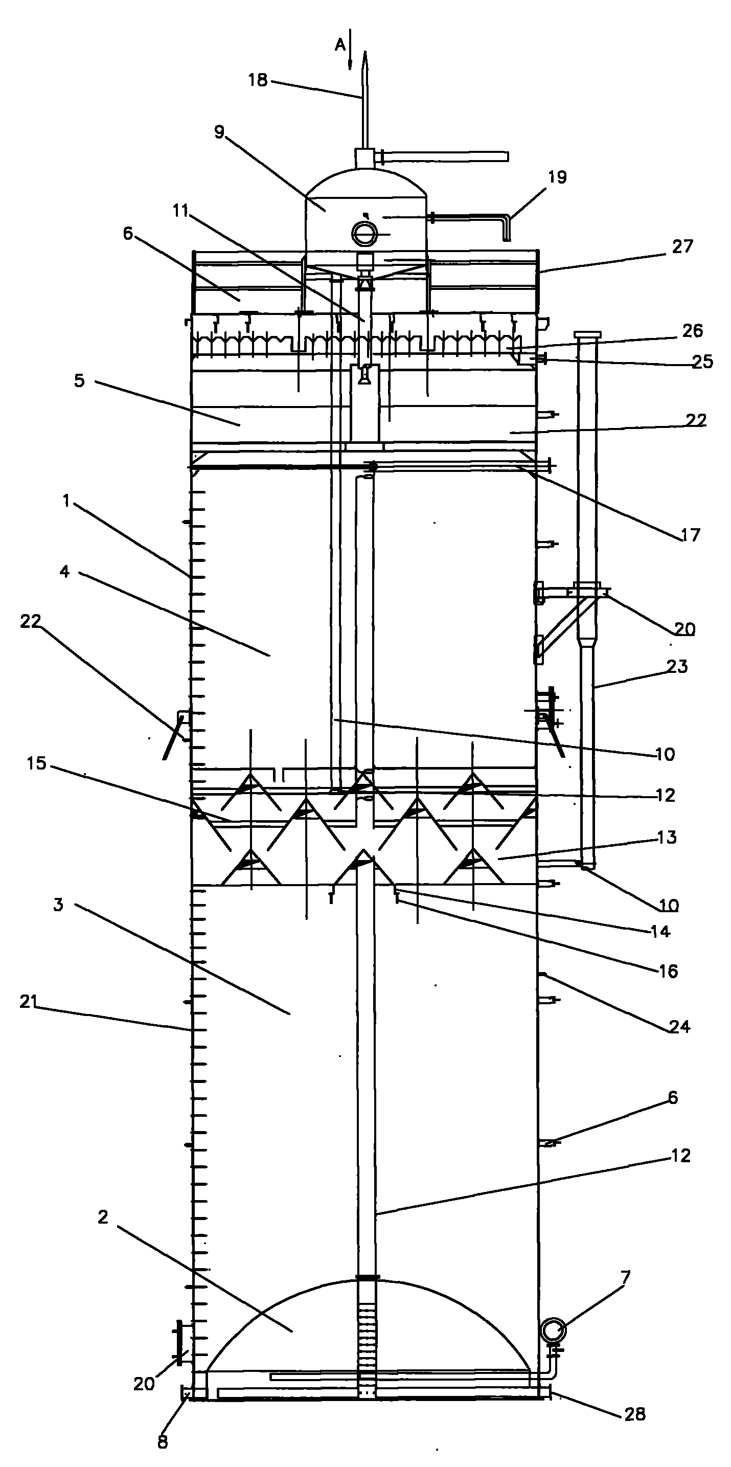
一种用于污水处理的ic反应器
图片尺寸1504x2352
600tic厌氧反应器
图片尺寸569x414
一种回流曝气的ic反应器
图片尺寸998x1000
一种xic厌氧反应器制造技术
图片尺寸932x1000
一种回流曝气的ic反应器的制作方法
图片尺寸998x1000![[污水处理设备]污水处理设备之ic反应器原理与设计 - 土木在线](https://i.ecywang.com/upload/1/img0.baidu.com/it/u=971541463,2220348938&fm=253&fmt=auto&app=138&f=JPEG?w=404&h=392)
[污水处理设备]污水处理设备之ic反应器原理与设计 - 土木在线
图片尺寸426x413
反应器简图.doc
图片尺寸993x1404
cn201280477y_he-ic厌氧反应器有效
图片尺寸1430x2869
图6. ic厌氧反应器示意图
图片尺寸505x732
ic反应器基本构造示意图
图片尺寸462x652
ic厌氧反应器
图片尺寸550x597
一种节能自动化peic厌氧反应器,运行方法及在工业废水处理中的应用与
图片尺寸1000x934
厌氧反应器定制
图片尺寸958x685
ic厌氧反应器全套设计图纸
图片尺寸1408x570
直径6m ic厌氧反应器加工图- 环保图纸 - 沐风网
图片尺寸675x506