ideographic

ideographic modernism
图片尺寸270x402
ideographic
图片尺寸237x213
znej w rzeszowie副标题:semantic analysis and ideographic
图片尺寸270x380
左侧: inter-ideographic ,右侧: break-all
图片尺寸703x429
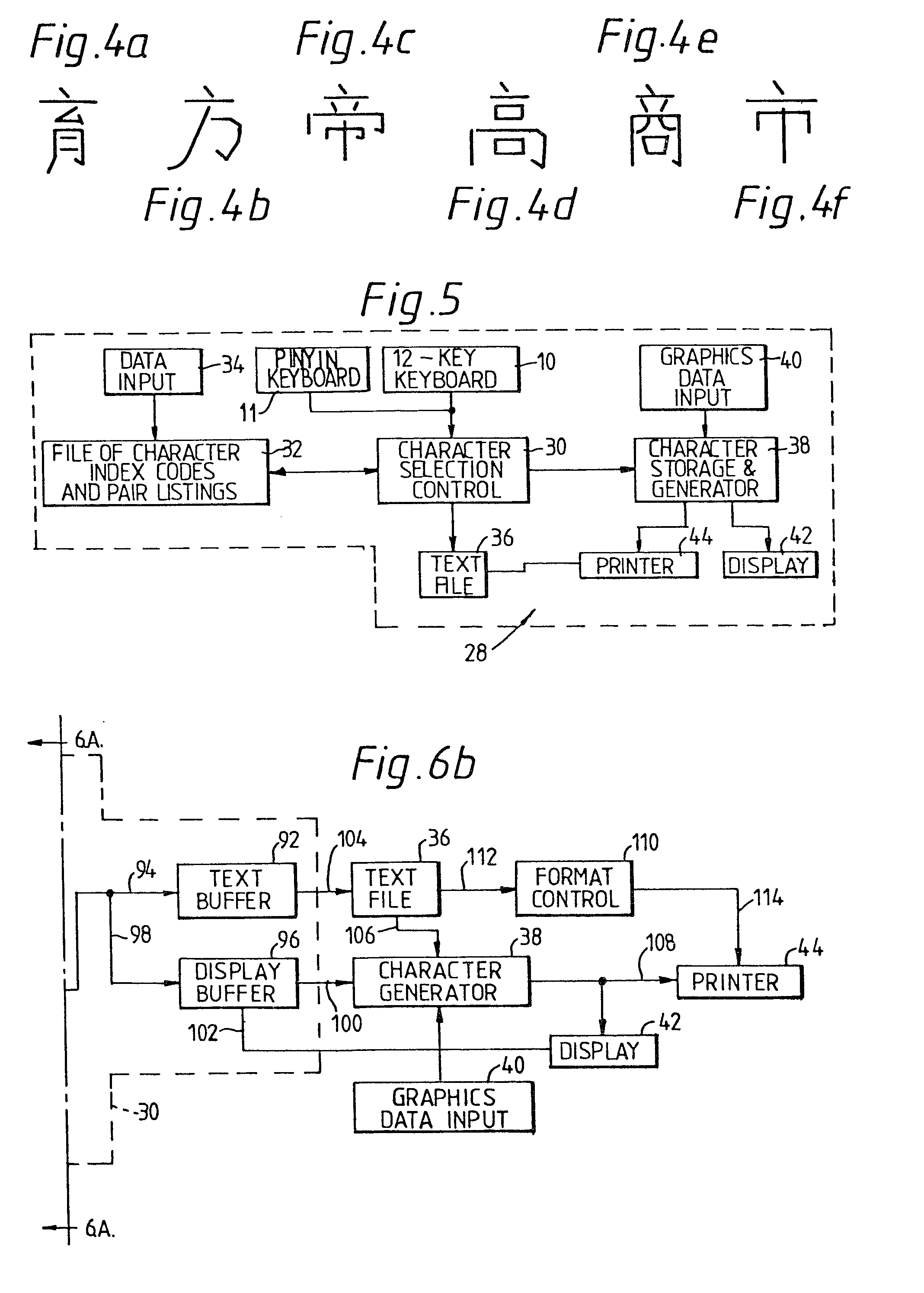
method and apparatus for producing ideographic text
图片尺寸1703x2461
method and apparatus for producing ideographic text
图片尺寸2137x2991
方式 value 为 top|hanging|middle|alphabetic|ideographic|bootom
图片尺寸311x202
u 2f00 – u 2fd5cjk ideographic description c
图片尺寸649x914
research on the application of chinese characters ideographic
图片尺寸617x288
database engines for processing ideographic characters and
图片尺寸2285x3290
database engines for processing ideographic characters and
图片尺寸2286x3034
方框"(em square)hanging:该值用于绘制各种印度语字符串;ideographic
图片尺寸529x298
动态象形字(the pictographic character)/015 会意字(ideographic
图片尺寸468x500
ideographic teletext transmissions
图片尺寸1792x2004
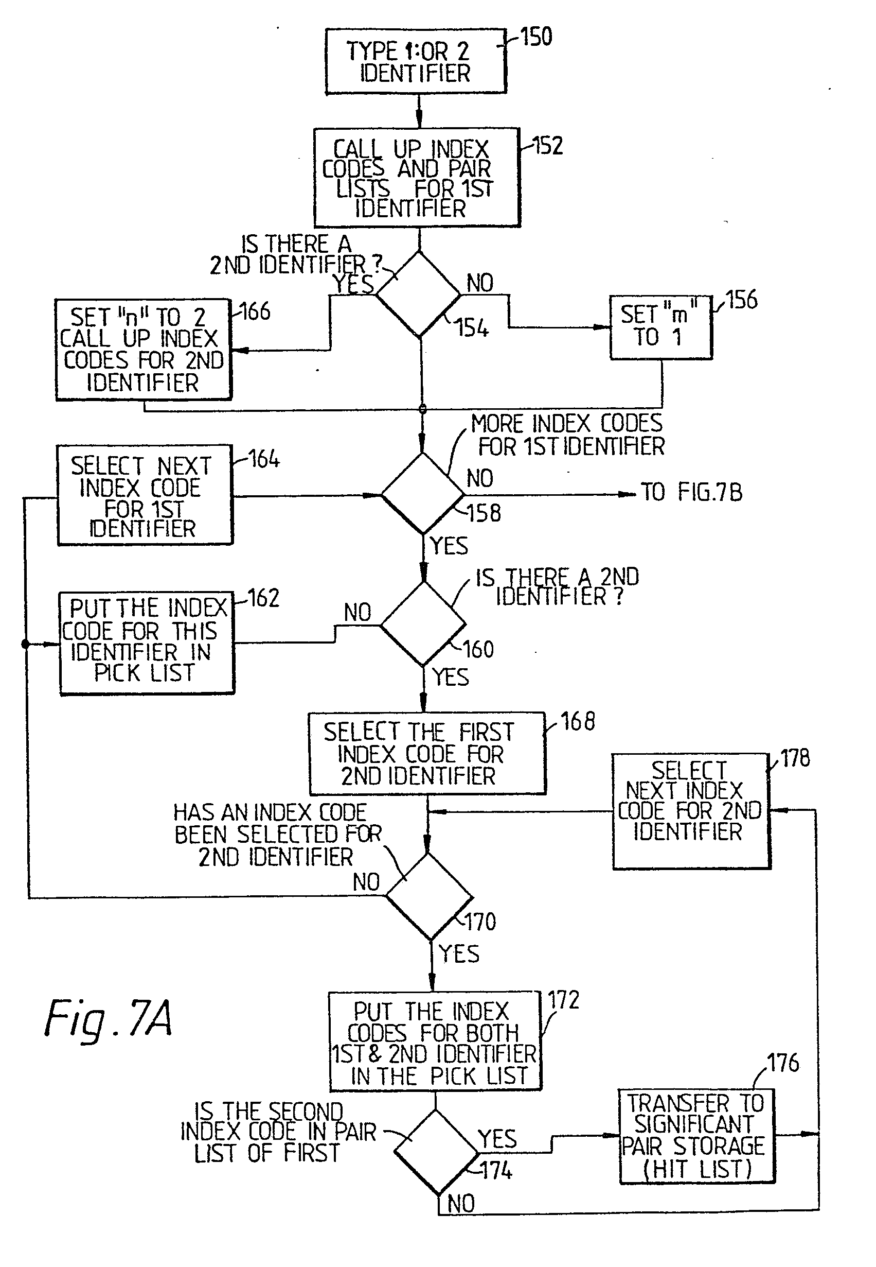
collision-free ideographic character coding method and apparatus
图片尺寸1651x2352
动态象形字(the pictographic character)/015 会意字(ideographic
图片尺寸566x800
61 show stroke numbers in radicals catalog61 ideographic
图片尺寸392x696
em空格u2003emspace和表意字空格u3000ideographicspace有哪些区别
图片尺寸350x319
图解汉语表意概念(chinese ideographic concepts)或中文通用语义
图片尺寸729x693
canvas绘制文本
图片尺寸520x523