injectionvalve

german marco precision injection valve hot melt glue injection
图片尺寸1219x1244
supply injection valve(13 53 7 506 158) for bmw - yiparts
图片尺寸640x480
engine parts injection valve 06j906036g for ea888 1.8t 2.
图片尺寸1000x1000
gpz-135, bsv-1, kp-0 type dry oil injection valve
图片尺寸800x800
injection valve
图片尺寸712x1145
pf-200 dry oil injection valve
图片尺寸400x309
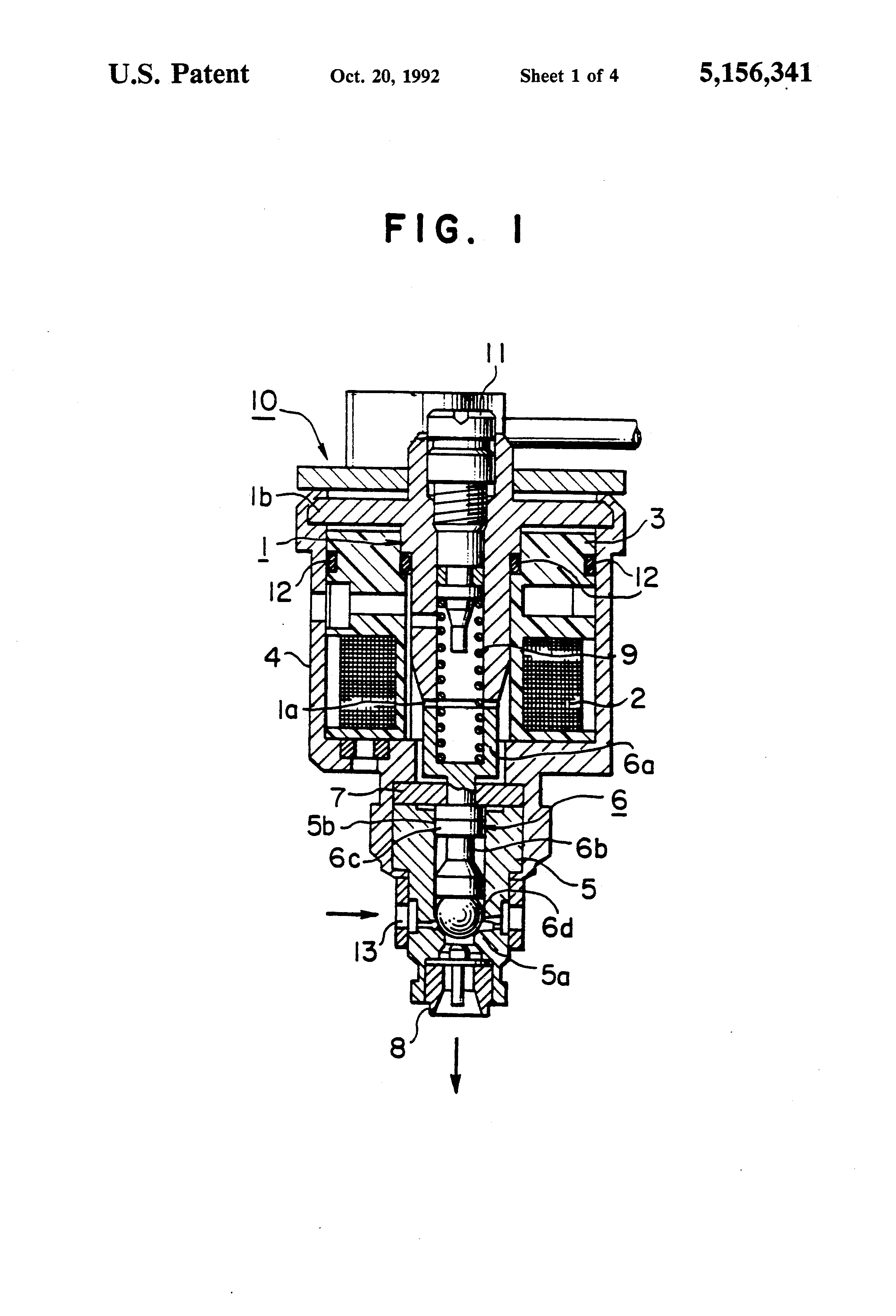
fuel injection valve
图片尺寸1994x2972
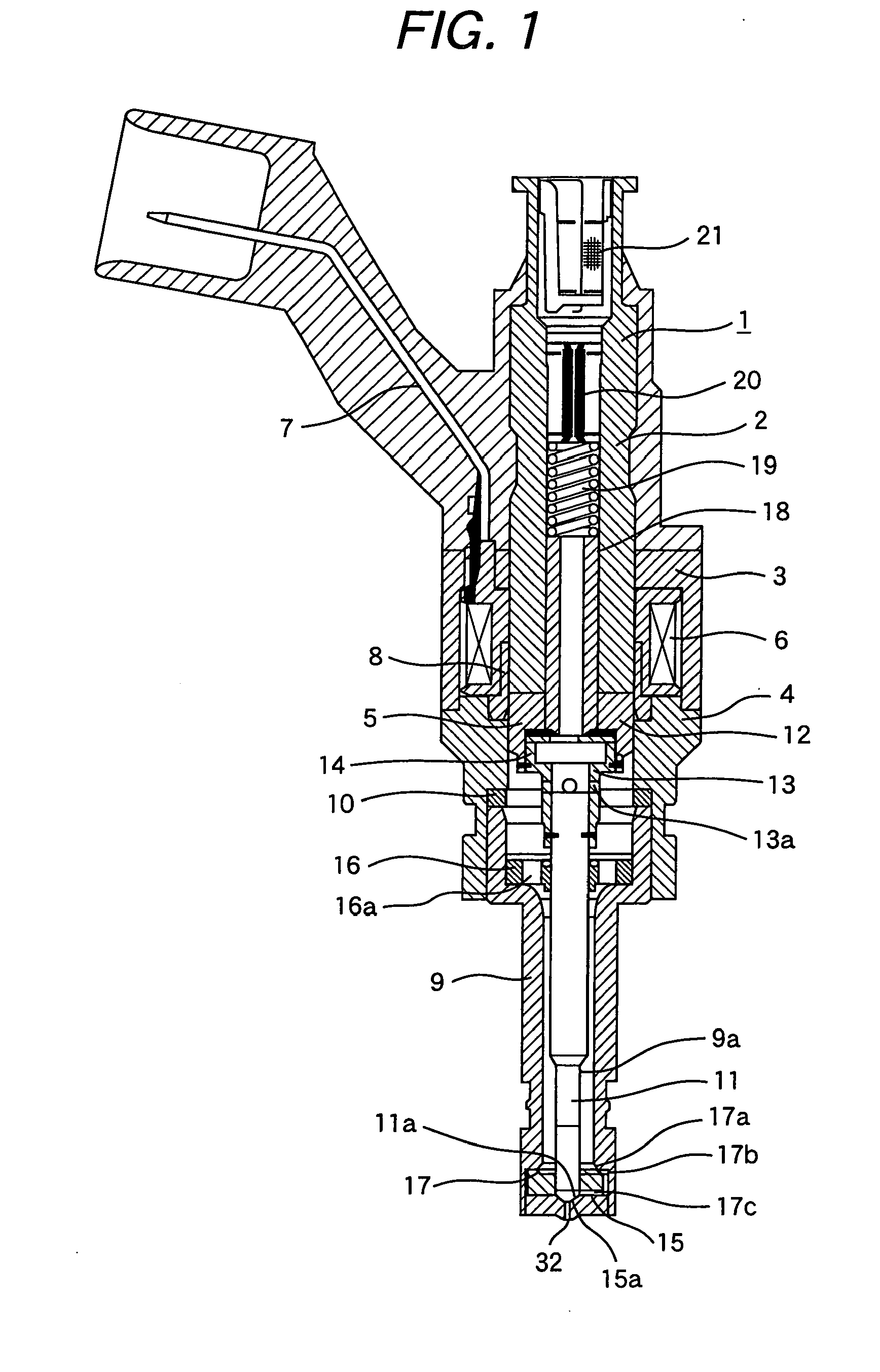
fuel injection valve for internal combustion engine
图片尺寸1777x2724
fuel injection valve
图片尺寸1536x1904
fuel-injection valve
图片尺寸1396x2445
hc-y1 multi-channel reversing injection valve多通道换向进样阀是
图片尺寸6720x4480
fuel injection valve
图片尺寸2002x2965
fuel-injection valve
图片尺寸2481x3562
supply injection valve(13 64 1 273 272) for bmw, porsche
图片尺寸640x480
injection valve and method of making orifice
图片尺寸1736x2705
electromagnetic type fuel injection valve
图片尺寸2320x3408
gaseous fuel injection valve
图片尺寸1967x3045
fuel injection valve
图片尺寸2079x3222
fuel injection valve
图片尺寸1671x2831
us_airpower o3 injection valve for washing machine_installation
图片尺寸1000x1033