l形柱子图解

一种l型组合柱
图片尺寸1708x1900
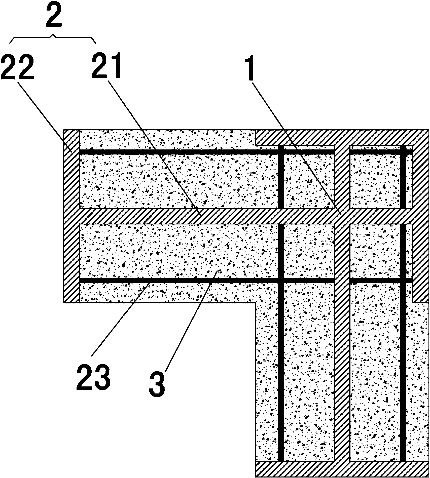
l型构造柱的制作方法
图片尺寸937x1463
l形
图片尺寸467x422
l型柱,有多个箍径怎么画
图片尺寸819x394
在广联达钢筋算量中这种l型的构造柱应该怎么编辑属性
图片尺寸517x813
一种型钢再生混凝土l形柱的制作方法
图片尺寸1000x780
请问一下,关于广东柱表中l型柱的配筋问题
图片尺寸573x802
一种装配式可调定位的l形钢管柱与再生混凝土独立基础连接构造及作法
图片尺寸347x443
建筑初步西方古典建筑柱式
图片尺寸920x690
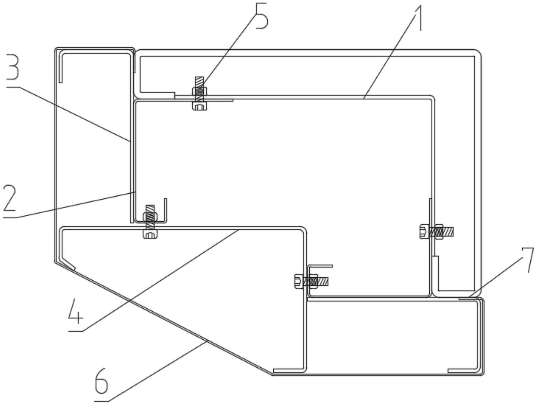
一种薄壁钢结构l型组合柱制造技术
图片尺寸833x1000
p data-id="gnbtj3a6lc">异形柱结构是指全部或部分柱截面为l形,t形
图片尺寸994x964
定义l型柱,当角筋不一样时,要怎么布置
图片尺寸969x826
l型构造柱如何手算体积,如下图所示,高度为5.45
图片尺寸534x445
一种新型l字形钢筋混凝土异形柱的制作方法
图片尺寸590x651
cn211499571u_一种卡扣式包l形柱结构有效
图片尺寸1786x1345
布置在建筑角部的l形矩形钢柱
图片尺寸805x1028
l形柱子怎么定义拉筋
图片尺寸1080x1440
一种l型组合柱
图片尺寸898x1000
请问一下,关于广东柱表中l型柱的配筋问题
图片尺寸813x861
一种新型装配化l形钢管混凝土柱的制作方法
图片尺寸503x372