l7806cv引脚图和参数

l7806cv三个引脚怎样接
图片尺寸600x370
l7806cvpmic
图片尺寸449x272
谁知道直流12v变6v的接线图 用7806
图片尺寸832x640
l7805cv l7809cv l7812cv 7806 7815 7824 稳压器芯片 全新原装
图片尺寸790x2533
智能小车用12v干电池经过7805稳压后为什么无法驱动四个电机呢?
图片尺寸640x471
1.5a 6v 国产三端稳压管l7806cv
图片尺寸650x628
供应l7805cv 三端稳压管全新原装集成电路ic 大芯片品质有保证
图片尺寸640x422
三端稳压管 l7805cv l7806cv l7809cv l7812 l7905 l7906 l7909cv
图片尺寸800x800
l7806ab 数据表(pdf) 19 page - stmicroelectronics
图片尺寸892x1263
主题:7806稳压电源电路图
图片尺寸341x457
原装st l7905cv l7912cv l7915cv-dg -5v/-12v/-15v 1.5a稳压器
图片尺寸790x2525
00475 3 vi 78l15 vo 78l gnd 1 value=10 1 2 3 ui 地 uo c1
图片尺寸1080x810
viper17ln电源芯片中文资料pdf数据手册引脚图数据参数规格书特性概述
图片尺寸554x676![l7806ab (stmicroelectronics [精密1稳压器]) pdf技术资料下载 l7806](https://pdf-html.ic37.com/pdf_html/pdf4_html/STMICROELECTRONICS/L7806_datasheet_875384/pg_0004.png)
l7806ab (stmicroelectronics [精密1稳压器]) pdf技术资料下载 l7806
图片尺寸828x1100
去修家电那买一个lm7806稳压集成,按这个图接好就能就能有6v输出,输出
图片尺寸317x200
插件三端稳压器 l7805cv 7805 1.5a 5v 直插to-220 国产大芯片
图片尺寸631x802
lm7805引脚图
图片尺寸438x328
fdc6330l集成式负载开关中文资料pdf数据手册引脚图产品参数产品手册
图片尺寸746x924
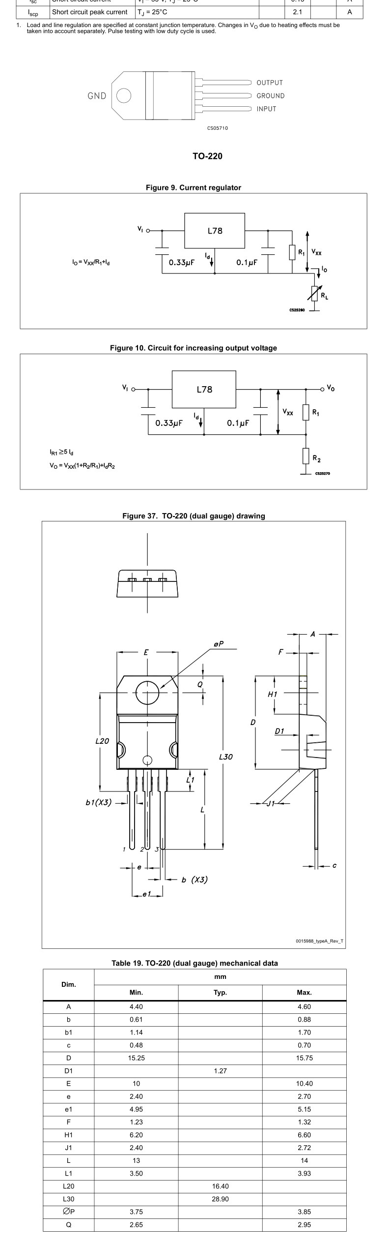
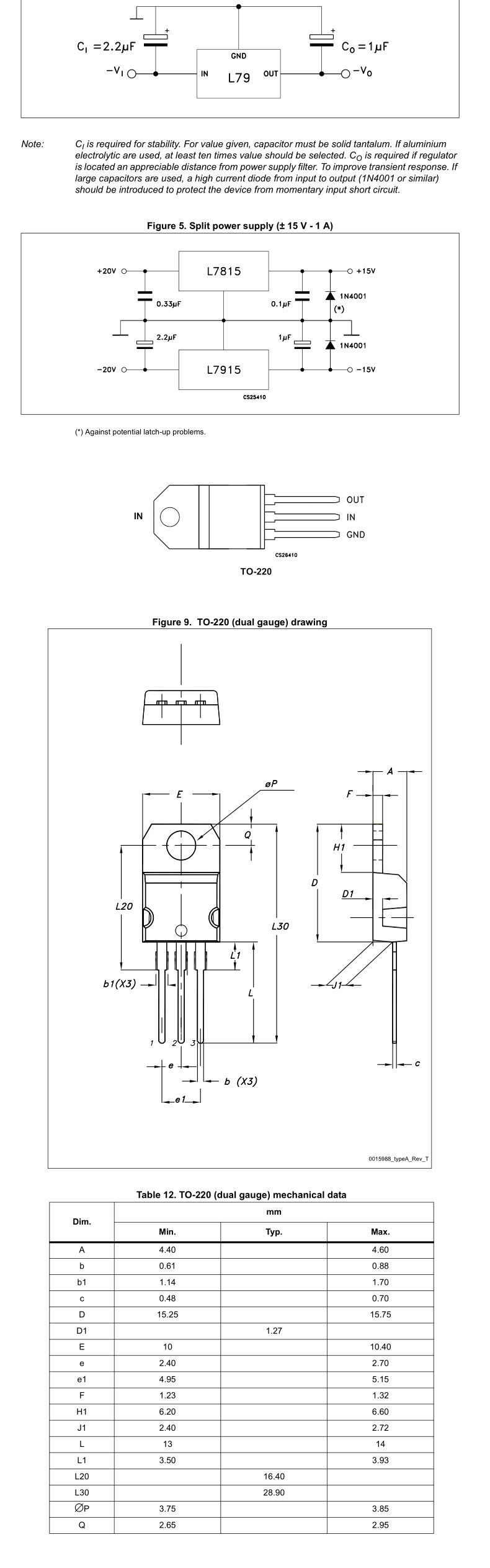
l7800系列 :应用电路 测试电路 : dc参数 :负载调整 4/34
图片尺寸728x1033
识别lm7815和7915组成的双15v电源电路图78l05管脚图引脚图及参数资料
图片尺寸1006x1469