m24螺栓图纸

8级铰制孔用螺栓塞打螺丝m18m20m22m24*50x60x70x80x90x100x120 18*40
图片尺寸990x561
教你认识六角头螺栓标准规格尺寸表的知识
图片尺寸631x644
8级高强度外六角螺栓 8级发黑外六角螺钉 m42*260
图片尺寸790x977
以某型柴油机连杆螺栓为例,该零件总长为233mm,零件一端为外螺纹m24
图片尺寸522x221
如下q/特30 半牙q/特30 半牙q/特30 全牙-六角头螺栓-全螺纹 图纸,如
图片尺寸1729x974
分享大六角头高强螺栓资料下载
图片尺寸446x391
m12m16m20m24u型螺栓304不锈钢u形螺丝u型管卡管夹固定卡扣骑马73
图片尺寸500x698
6m2m3m4m5m6m8m10m24基米机米顶丝无头止付螺丝钉 12.
图片尺寸432x174
化学螺栓化学锚栓化学膨胀螺栓螺丝m8m10m12m14m16m18m20m24 m10*130
图片尺寸790x778
9级外六角法兰面螺栓加大型法兰面螺丝六角带垫m6 m8 m5*8x10 m6*45
图片尺寸707x284
m12m14m16m18m20m22m24m27 304不锈钢双头螺丝杆两头牙螺栓两头带丝
图片尺寸675x400
附图8 螺栓的有效螺纹长度不足2个螺距
图片尺寸864x390
9级外六花法兰面螺栓/梅花外六角法兰面螺丝钉m5 m6高强度 m6*26.
图片尺寸575x258
地脚螺栓厂家介绍地脚螺栓最大受力分析_手机搜狐网
图片尺寸602x614
佰瑞特 304不锈钢英制外六角螺栓 美制外六角螺丝钉 3/16-24 1/2-12 5
图片尺寸642x303
定制129级全牙外六角螺丝螺栓m22m24m27m30m36150x160x180x200x2m
图片尺寸1500x2322
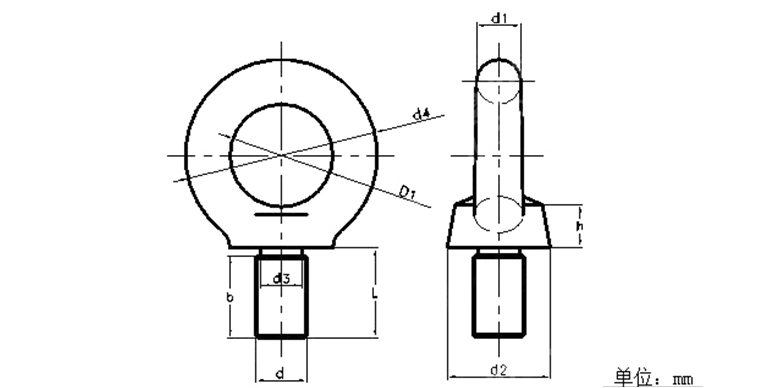
国标吊环螺钉 吊环圆环螺丝gb825钢印吊环螺丝m6m8m10m12m1m20m24-64
图片尺寸780x388
一文读懂螺栓表面缺陷产生的原因和检测要求!_手机搜狐网
图片尺寸1080x604
9级扭剪型高强度螺栓连接副gb3632圆头扭剪钢结构连接螺栓m22/m24 m24
图片尺寸790x921
gb30半牙gb30半牙-六角头螺栓-部分螺纹 图纸,如下图
图片尺寸1761x998