ob11皮鞋图纸

一种手工皮鞋的制作方法
图片尺寸1000x583
娃鞋图纸
图片尺寸740x1080
一起来做ob小皮鞋吧附图纸
图片尺寸1080x1439
原版火爆新款内销男装布天诚正装皮鞋楦头 圆头商务皮鞋楦头
图片尺寸750x880
2016秋季新款真皮商务皮鞋 男士英伦休闲男鞋 透气潮男鞋子批发
图片尺寸750x634
从人体工程学看皮鞋的舒适度与设计
图片尺寸845x598
一种翻面式女士皮鞋制造技术
图片尺寸940x1000
一种耐脏舒适型皮鞋的制作方法
图片尺寸1000x962
一种透气性能强的皮鞋的制作方法
图片尺寸964x1000
创作灵感 #艺术家玩偶 #手工泰迪熊图纸 #bjd #ob11 #伴偶
图片尺寸1080x780
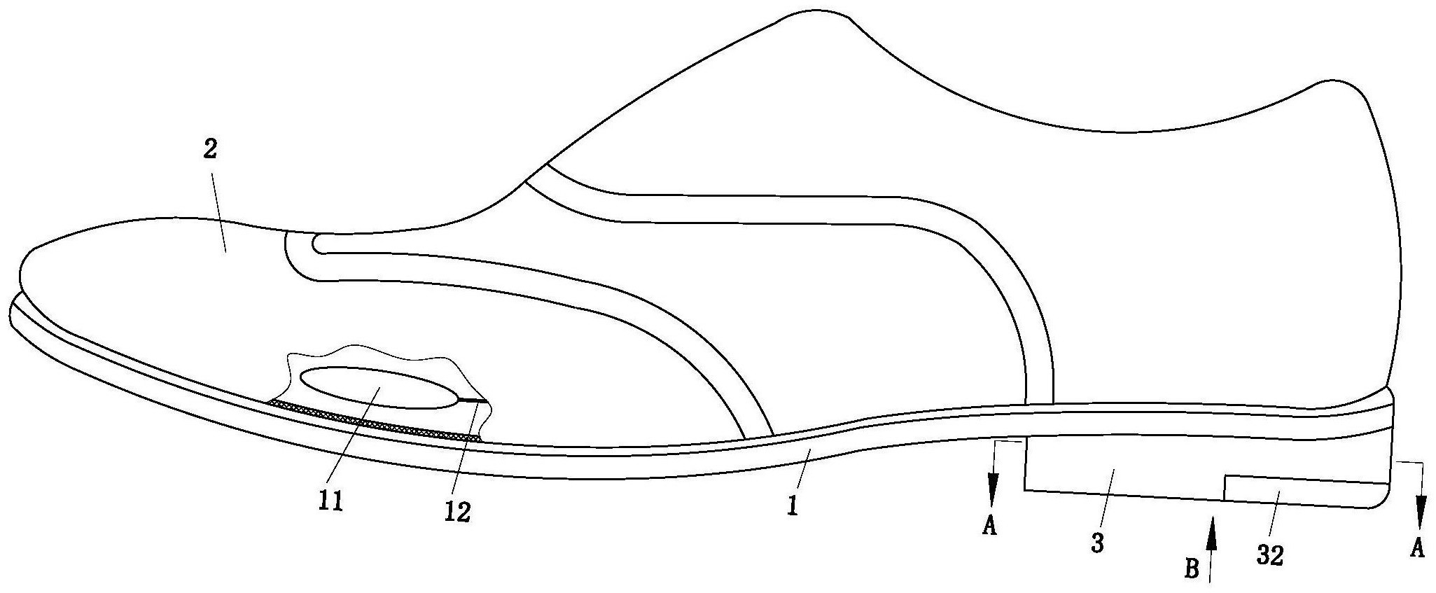
cn109984420b_一种防泥水男式皮鞋有效
图片尺寸2051x847
一种高舒适度男士皮鞋的制作方法
图片尺寸1000x986
product
图片尺寸1045x622
一种透气性能强的皮鞋_cn201921257657.0_知雀网
图片尺寸964x1000
cn209331242u_一种不易磨脚的皮鞋
图片尺寸1000x840
一种防滑耐磨女士皮鞋的制作方法
图片尺寸1000x757
一种具减震功能的轻质化皮鞋
图片尺寸839x1000
我的手工日常 #diy手工制作 #ob11娃娃 #blythe #bjd私养 #迷你
图片尺寸1080x1439
一种正装鞋制造技术,正装皮鞋种类专利_技高网
图片尺寸1000x429
ob11超迷你娃娃小皮鞋
图片尺寸750x660