ostomy

careofcolostomyandileostomy
图片尺寸600x502
英文单词cystostomy的中文释义,英文释义,双语句库,英文句库,同义词
图片尺寸500x376
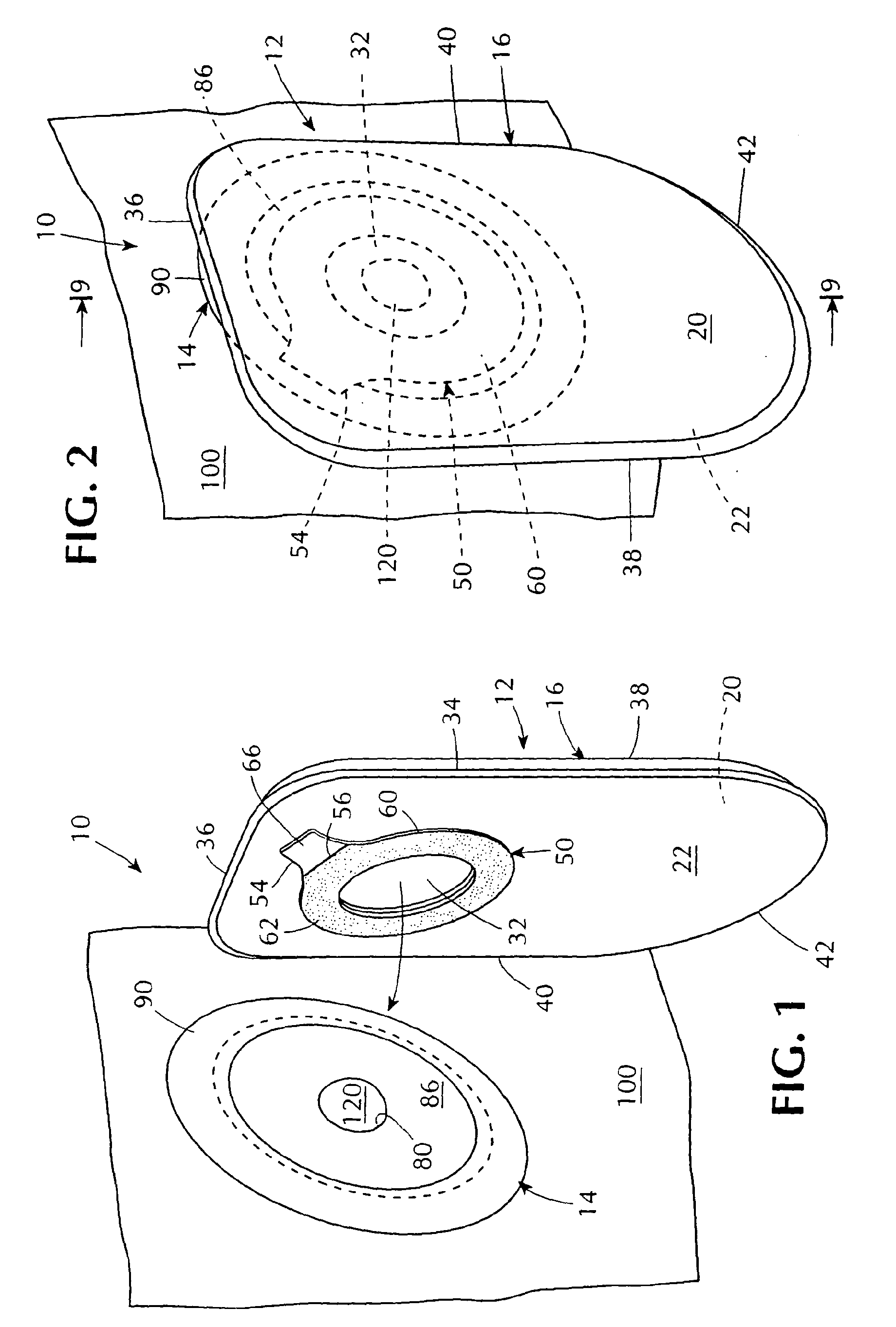
low profile ostomy system with respositionable pouch
图片尺寸1840x2725
balloonseptostomy
图片尺寸267x400
ostomy appliance with multiple release liners
图片尺寸928x1062
ostomy appliance and an adhesive wafer for such appliance
图片尺寸1802x2180
ostomy appliance collector
图片尺寸1497x2639
【4周达】so much more than my ostomy: loving my perfectly
图片尺寸800x800
ostomy containment device
图片尺寸2172x3090
colorectalfistulostomy_2a5.jpg
图片尺寸297x420
ostomy appliance
图片尺寸934x1011
ostomy bags
图片尺寸480x480
drainable ostomy bag for one piece colostomy bag size 70 mm
图片尺寸900x900
ostomy pouch
图片尺寸1976x2169
ostomy tube device, ostomy placement kit and method for an
图片尺寸1473x2521
what-is-a-colostomy-image
图片尺寸257x300
低价一次性可排泄的不透明结肠造口袋 - buy colostomy bag
图片尺寸1000x1333
ostomy appliance
图片尺寸1888x2356
ostomy plug
图片尺寸1169x1859
total colectomy & kock (continent) ileostomy
图片尺寸500x315