p型密封条安装图

亚克力玻璃压条 铝合金塑钢门窗户缝隙密封条硅胶玻璃压条橡胶条
图片尺寸790x1078
10x9mm 异形p型密封条防撞防尘橡胶密封条异形侧泡防撞隔音密封条
图片尺寸750x750
p型密封条9字型橡胶条止水胶条水闸门粮库挡水皮条b型d型6字橡胶
图片尺寸750x750
供应门窗幕墙密封条断桥铝门窗密封条
图片尺寸576x521
遇水膨胀橡胶止水条施工安装,遇水膨胀止水条一般安装在预先设置的
图片尺寸640x519
泛塞封(弹簧蓄能密封圈/lipseal)的安装方法
图片尺寸676x457
塑钢窗密封条哪种好密封条安装注意事项
图片尺寸790x889
05安装建议关于密封件在压力条件下的固定,下图给出安装建议.
图片尺寸585x699
53美标1.78液压2.62油封密封圈厂家直销
图片尺寸700x1037
yxd标准usp型活塞用密封圈 孔用u型圈y型圈 进口聚氨酯性能更优
图片尺寸750x408
旋转轴唇形油封密封圈的安装方法
图片尺寸3937x5343
基本所有可熔性,可粘接性的塑料都是可以的,比如聚甲醛pom,聚乙烯pe
图片尺寸498x700
请问水泵的水封是密封原理是怎样的?
图片尺寸815x502
不锈钢铜门塑钢铝合金防盗门窗密封胶条
图片尺寸400x374
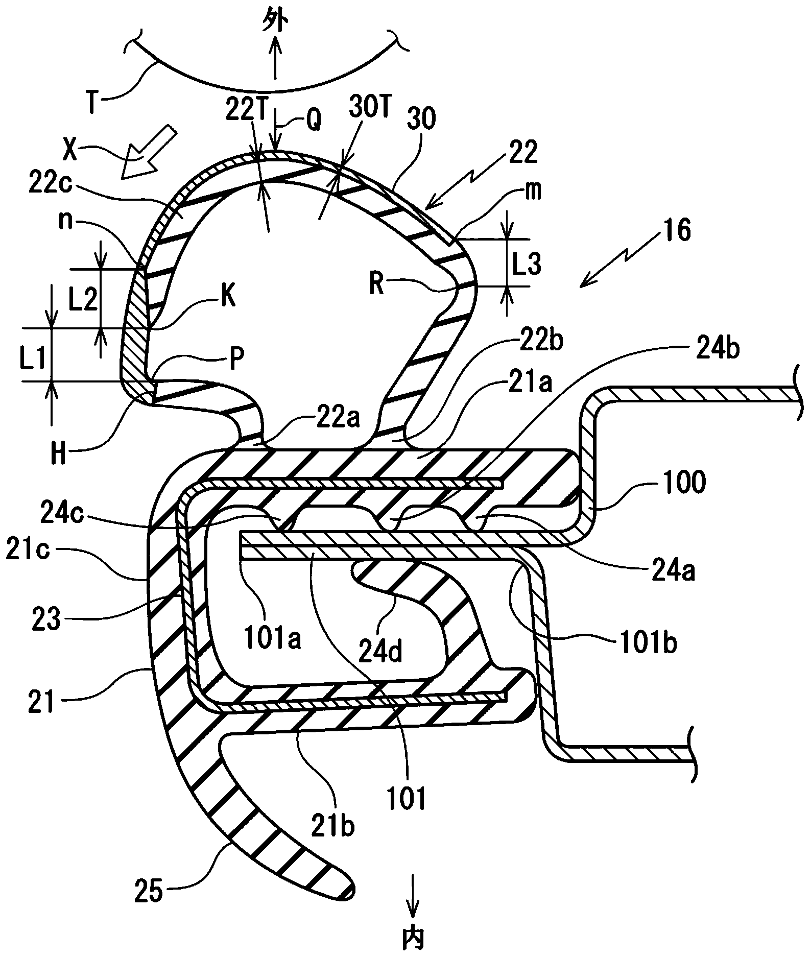
该汽车用密封条具有:在汽车车身侧安装的安装基部;第一,第二根部被
图片尺寸1586x1874
耐高温硅胶9在密封条烤箱密封条p型硅胶条红色硅胶密封条硅橡胶条
图片尺寸800x800
hfm泵改进型密封圈安装说明
图片尺寸600x562
耐高温硅胶p型密封条 防水防尘食品级硅胶p型条 蒸箱 烤箱密封条
图片尺寸800x800
pe波纹管可使用弹性密封圈连接方式,也可使用其它连接
图片尺寸964x631
upvc双壁波纹管承插连接要套橡胶圈连接这里面原理是什么呢可以套热熔
图片尺寸910x403