p2003evg电路图

10,usb保护充电接口11,vcom电路1)电阻分压式文章来源地址https://www
图片尺寸536x421
usb充电电路28,功率开关电路1)电流6a(dmp3056lsd)2)电流9a (p2003evg
图片尺寸554x321
2003_电路
图片尺寸640x480
基于pwm电源管理芯片的电压比较器电路设计
图片尺寸500x288
指纹识别传感器电路设计解析电路图天天读310
图片尺寸558x533
晶圆键合及后续工艺流程 - 制造/封装 - 电子发烧友网
图片尺寸865x567
图11:2020年公开数据,全球晶圆键合设备厂商经营情况奥地利evg公司的
图片尺寸877x476
键合设备销量及发展趋势(2018-2029)(台) 资料来源:yole developpemen
图片尺寸897x541
值表-电路图-电子产品世界
图片尺寸545x400
p2003evg,p2003evg pdf中文资料,p2003evg引脚图,p2003evg电路-data
图片尺寸826x1169
ltc1148的引脚配置和内部等效电路图
图片尺寸700x680
p9006evg_(niko-sem(尼克森))p9006evg中文资料_价格_pdf手册-立创
图片尺寸1240x1754
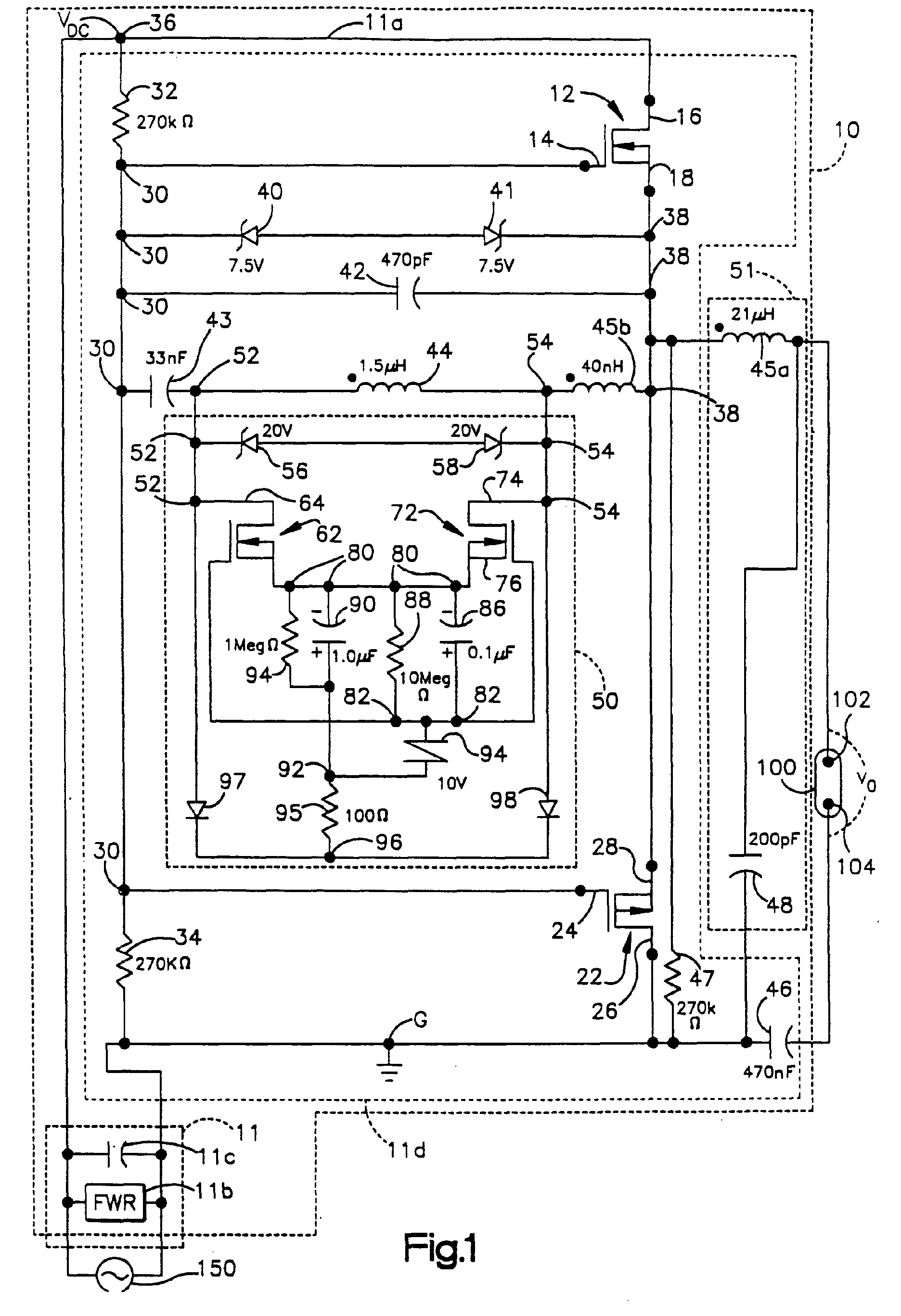
power regulation circuit for ballast for ceramic metal halide
图片尺寸1872x2735
p2003evg datasheet(5/5 pages) etc2 | p-channel logic level
图片尺寸892x1263
p2003evg参数datasheetpdf下载
图片尺寸600x776
p2003evg_(niko-sem(尼克森))p2003evg中文资料_价格_pdf手册-立创
图片尺寸1240x1754
cd4093应用电路:触摸开关
图片尺寸774x408
4435mos管 替p2003evg ao4419 ao4807 vs3510ds -30v -9.1a sop-8
图片尺寸711x522
后来在一个旧板上找到一个p2003evg,脚位一致,就它了,拆下焊上,为了
图片尺寸600x800
74ls47与74ls48的引脚图与区别
图片尺寸498x307