patent什么意思

2015人教版七年级英语上册第七单元全单元课件ppt
图片尺寸1080x810
精品 公开课课件 pep新教材四年级下册unit 6 part a第一课时课件ppt
图片尺寸1080x810![2011高考英语知识点复习课件[外研版]-必修1 module2答案ppt](https://i.ecywang.com/upload/1/img2.baidu.com/it/u=79036037,195632933&fm=253&fmt=auto&app=138&f=JPEG?w=500&h=375)
2011高考英语知识点复习课件[外研版]-必修1 module2答案ppt
图片尺寸1080x810
95pct是《专利合作条约》(patent cooperation treaty)的英文缩写
图片尺寸700x933
第一课 patentiippt
图片尺寸1080x810
还记得patent是什么意思吗71图上有提示9292
图片尺寸1004x1339
格林威治
图片尺寸1080x1439
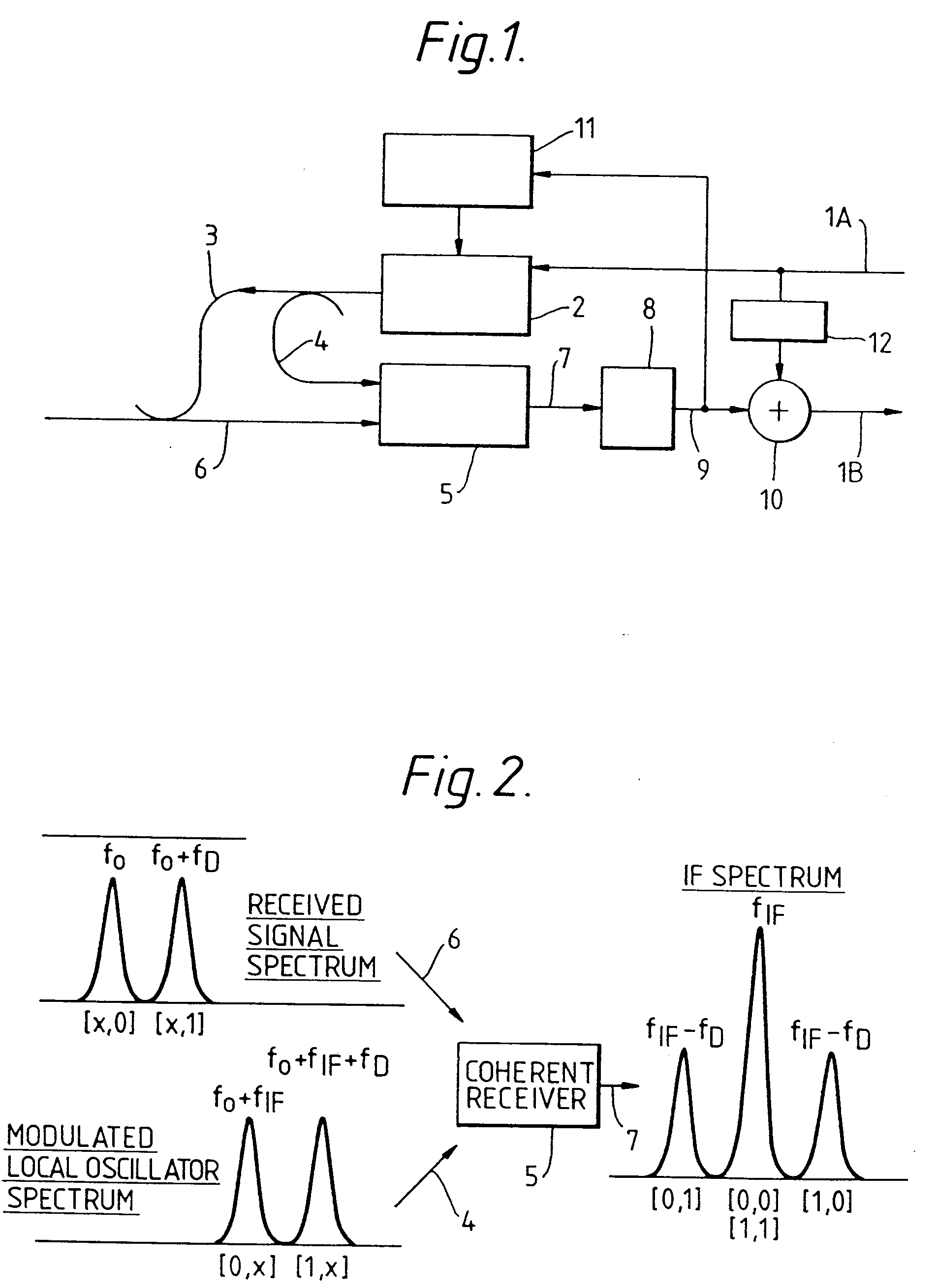
patent drawing
图片尺寸2048x3078
发明专利(utility patent):在美国专利法中规定,实用专利是任何新且
图片尺寸1080x1439
patentpatent是什么意思patent怎么读例句
图片尺寸279x180
patentes是什么意思 patentes的翻译,读音,例句,中文解释 - 先认知,方
图片尺寸640x360
patent drawing
图片尺寸1759x2923
patent是什么意思
图片尺寸275x388
教育部最新审定人教版四年级英语上册part a公开课课件ppt
图片尺寸1080x810
flows by billiards appro是什么意思答:papayamilkisthepatentofour
图片尺寸1375x2238
patent drawing
图片尺寸1904x2620![off."是"[u.s.] patent office"的英文缩写,意思是"[美国]专利局"](https://i.ecywang.com/upload/1/img0.baidu.com/it/u=2113841961,2936104936&fm=253&fmt=auto&app=138&f=JPEG?w=569&h=370)
off."是"[u.s.] patent office"的英文缩写,意思是"[美国]专利局"
图片尺寸600x390
patent是什么意思
图片尺寸499x246
amazon-patent-497x644.jpg
图片尺寸497x644
patent drawing
图片尺寸1769x1740