pc构件图纸

pc构件图纸问题
图片尺寸1137x685
装配式剪力墙构件详图
图片尺寸1640x1171
装配式建筑主体施工之pc构件吊装
图片尺寸705x914
一种pc构件模块化生产线的制作方法
图片尺寸1000x501
英雄们谢谢了!
图片尺寸3264x2448
圆盘注塑模具设计- 注塑模图纸 - 沐风网
图片尺寸820x580
商标logo
图片尺寸1445x859
某框架结构建筑装配式pc构件详图 - 结构图纸 - 沐风网
图片尺寸578x449
pc板深化图 - cad建筑图纸 - 沐风网
图片尺寸810x556
某装配式社区住宅楼pc深化设计施工图深化图纸(平立剖,节点图,构件图)
图片尺寸614x506
预制剪力墙与现浇构件的横向连接
图片尺寸1640x1171
装配式建筑异形pc构件吊装技术分析
图片尺寸655x599![[施工图]装配式结构pc方案](https://i.ecywang.com/upload/1/img0.baidu.com/it/u=138736582,870505716&fm=253&fmt=auto&app=138&f=JPG?w=1216&h=500)
[施工图]装配式结构pc方案
图片尺寸1296x533
pc构件在工厂里加工,又快又环保,只需塔吊轻轻一吊就成形了.
图片尺寸678x394
竖向构件连接详图
图片尺寸1640x1171
竖向构件连接详图3
图片尺寸1640x1171
本实用新型属于预制构件养护设备技术领域,尤其涉及一种双窑体养护
图片尺寸1000x855
cn209682489u_一种用于浇筑叠合板的制作模具
图片尺寸1000x603
某装配整体式剪力墙全套pc结构施工图
图片尺寸610x433
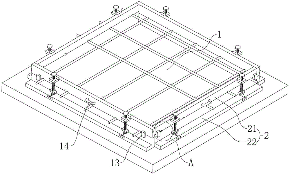
一种pc空调板构件模具的制作方法
图片尺寸443x375